Rear Cushion Lever (Dr650Sel4 E33) Diagram Suzuki DR650 DR650SE
- Year
- 2014
- Model code
- DR650SEL4
- Sales region
- USA/ Canada
- Engine Capacity
- 650
- Model
- DR650SE
Difficulties in parts search?
Difficulties in parts search?
| Description | OEM Part # | Price | |||
|---|---|---|---|---|---|
|
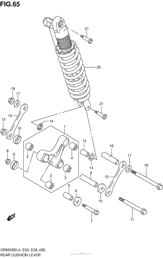
1
|
1
62600-32840-000 LEVER SET,RR CUSHIONLever set, rear cushion |
62600-32840-000 |
US $288.88 |
||
|
2
|
2
09263-20073-000
BEARING(20X27X30)
|
09263-20073-000 |
— | ||
| replacement | |||||
|
2
|
2
09263-20121-000 Bearing |
09263-20121-000 |
from US $14.90 |
||
|
3
|
3
09263-21012-000 BEARING(21X27X20)Bearing (21x27x20) |
09263-21012-000 |
from US $11.55 |
||
|
4
|
4
09263-17027-000 BEARING(17X24X20)Bearing, center (17x24x20) |
09263-17027-000 |
from US $10.80 |
||
|
5
|
5
62317-27C10-000 SPACER,RR CUSHION LEVER FRSpacer, front |
62317-27C10-000 |
from US $10.38 |
||
|
6
|
6
62162-28E00-000
SEAL,RR CUSHION LEVER FR DUST
|
62162-28E00-000 |
— | ||
| replacement | |||||
|
6
|
6
62162-28E01-000 Seal,dust |
62162-28E01-000 |
from US $5.60 |
||
|
7
|
7
62658-01C60-000 BOLT,RR CUSHION LEVER FRBolt, front |
62658-01C60-000 |
from US $6.40 |
||
|
8
|
8
08319-3112A-000 NUT |
08319-3112A-000 |
from US $1.98 |
||
|
9
|
9
62626-13E00-000 SPACER,RR CUSHION LEVER CTRSpacer, center (15x21x74) |
62626-13E00-000 |
from US $9.88 |
||
|
10
|
10
62682-13E00-000 SEAL,RR CUSHION LEVER CTRSeal, center dust |
62682-13E00-000 |
from US $5.17 |
||
|
11
|
11
62621-27C20-000 BOLT,RR CUSHION LEVER CTRBolt, center (14x109) |
62621-27C20-000 |
from US $22.82 |
||
|
12
|
12
08319-3114A-000 NUT |
08319-3114A-000 |
from US $6.08 |
||
|
13
|
13
62684-40A10-000 SPACER,RR CUSHION LEVERSpacer, front (10x17x30) |
62684-40A10-000 |
from US $6.84 |
||
|
14
|
14
62624-13E00-000 SEAL,RR CUSHION LEVER RR DUST |
62624-13E00-000 |
from US $5.92 |
||
|
15
|
15
62641-32E00-000 ROD,RR CUSHION LEVERRod, rear cushion lever |
62641-32E00-000 |
from US $30.54 |
||
|
16
|
16
62626-14D00-000 SPACER,RR CUSHION LEVER CTRSpacer, center |
62626-14D00-000 |
from US $15.46 |
||
|
17
|
17
08211-14321-000 WASHER |
08211-14321-000 |
from US $1.52 |
||
|
18
|
18
62621-17C00-000 SHAFT,RR CUSHION LEVER FRBolt, rod (14x112) |
62621-17C00-000 |
from US $10.82 |
||
|
19
|
19
08319-3114A-000 NUT |
08319-3114A-000 |
from US $6.08 |
||
|
20
|
20
62100-32E10-28W ABSORBER ASSY,RR SHOCKAbsorber assy, rear shock (white) |
62100-32E10-28W |
from US $1,314.08 |
||
|
21
|
21
62648-14500-000 BOLT,RR CUSHION ROD UPRBolt,shock absorber |
62648-14500-000 |
from US $6.56 |
||