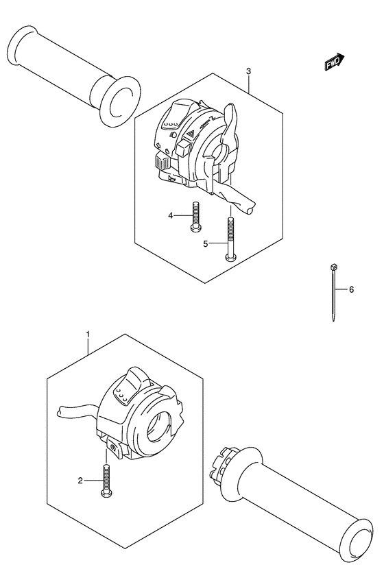
Handle switch Diagram Suzuki GSF650 Bandit S
- Year
- 2005
- Model code
- GSF650SAK5(E2) K5
- Engine Capacity
- 650
- Model
- GSF650S
Difficulties in parts search?
Difficulties in parts search?
| Description | OEM Part # | Price | |||
|---|---|---|---|---|---|
|
1
|
1
37200-38G30-000 SWITCH ASSY,HANDLE,RSwitch assy, handle, r; |
37200-38G30-000 |
from US $131.20 |
||
| replacement | |||||
|
1
|
1
37200-29G80-000 SWITCH ASSY,HANDLE,RSwitch assy, handle, r; |
37200-29G80-000 |
from US $173.28 |
||
|
2
|
2
02112-05303-000
Screw
|
02112-05303-000 |
— | ||
| replacement | |||||
|
2
|
2
02112-0530A-000 SCREW |
02112-0530A-000 |
from US $0.76 |
||
|
3
|
3
37400-38G10-000 SWITCH ASSY,HANDLE,L |
37400-38G10-000 |
US $161.18 |
||
|
4
|
4
02112-05253-000
Screw
|
02112-05253-000 |
— | ||
| replacement | |||||
|
4
|
4
02112-0525A-000 SCREW |
02112-0525A-000 |
from US $0.80 |
||
|
5
|
5
02112-05453-000 Screw |
02112-05453-000 |
from US $0.52 |
||
| replacement | |||||
|
5
|
5
02112-0545B-000 SCREW |
02112-0545B-000 |
from US $2.08 |
||
|
6
|
6
09407-14407-000 CLAMP(L:145)Band Clamp (l:145); |
09407-14407-000 |
from US $2.08 |
||