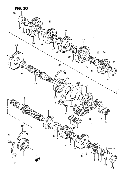
Transmission Diagram Suzuki GSX-R750
- Year
- 1994
- Model code
- GSX-R750SPR(E4) R
- Engine Capacity
- 750
- Model
- GSX-R750
Difficulties in parts search?
Difficulties in parts search?
| Description | OEM Part # | Price | |||
|---|---|---|---|---|---|
|
1
|
1
24121-17E60-000
Countershaft (nt:15)
Countershaft (nt:15); |
24121-17E60-000 |
— | ||
|
2
|
2
24221-17E60-000
Gear, 2nd drive (nt:16)
Gear, 2nd drive (nt:16); |
24221-17E60-000 |
— | ||
|
3
|
3
09380-27004-000 CIRCLIP |
09380-27004-000 |
from US $1.76 |
||
|
4
|
4
24231-17E60-000
GEAR,3&4TH DRIVE CA(NT:18/24)
Gear, 3/4th drive (nt:18/20); |
24231-17E60-000 |
— | ||
|
5
|
5
24251-17E60-000
GEAR,5TH DRIVE B(NT:25)
Gear, 5th drive (nt:25); |
24251-17E60-000 |
— | ||
|
6
|
6
09301-28001-000 BUSH(28X32X2) |
09301-28001-000 |
from US $22.88 |
||
|
7
|
7
09380-27001-000 CIRCLIPCirclip, idle driven gear |
09380-27001-000 |
from US $3.25 |
||
|
8
|
8
24261-17E60-000
Gear, 6th drive (nt:22)
Gear, 6th drive (nt:22); |
24261-17E60-000 |
— | ||
|
9
|
9
24262-17E00-000
Bush,6th drive
|
24262-17E00-000 |
— | ||
| replacement | |||||
|
9
|
9
24262-17E01-000 BUSHBush, 3rd driven gear |
24262-17E01-000 |
from US $24.10 |
||
|
10
|
10
09167-27001-000 WASHER,LOCKWasher; |
09167-27001-000 |
from US $1.92 |
||
|
11
|
11
09262-25051-000 BEARING(25X62X17) |
09262-25051-000 |
from US $41.80 |
||
| replacement | |||||
|
11
|
11
09262-25105-000 BEARING(25X62X17)Bearing (25x62x17) |
09262-25105-000 |
from US $53.20 |
||
|
12
|
12
09390-62006-000
C ring
|
09390-62006-000 |
— | ||
| replacement | |||||
|
12
|
12
09390-62012-000 C RING |
09390-62012-000 |
from US $9.84 |
||
|
13
|
13
09285-20006-000 SEAL,OIL(20X31.2X2.7)Oil seal |
09285-20006-000 |
from US $5.62 |
||
|
14
|
14
23116-27A30-000
CAP,COUNTER SHAFT,L
|
23116-27A30-000 |
— | ||
|
15
|
15
24741-27A00-000 RETAINER,CNTR SHAFT BEARINGRetainer, cntr shaft bearing |
24741-27A00-000 |
from US $7.36 |
||
|
16
|
16
02122-06163-000
Screw
Screw; |
02122-06163-000 |
— | ||
| replacements | |||||
|
16
|
16
02122-0616B-000 SCREWScrew, intake pipe Screw; |
02122-0616B-000 |
from US $0.80 |
||
|
16
|
16
02122-0616A-000 SCREWScrew; |
02122-0616A-000 |
from US $0.76 |
||
|
17
|
17
09263-20069-000 BEARING(20X34X17.5)Bearing,lh |
09263-20069-000 |
from US $41.22 |
||
|
18
|
18
04221-07129-000 PINPin; |
04221-07129-000 |
from US $0.96 |
||
|
19
|
19
24131-17E10-000
Shaft,drive
|
24131-17E10-000 |
— | ||
|
20
|
20
24311-17E60-000
Gear, 1st driven (nt:36)
Gear, 1st driven (nt:36); |
24311-17E60-000 |
— | ||
|
21
|
21
09300-22008-000 BUSH(22X26X9) |
09300-22008-000 |
from US $7.45 |
||
|
22
|
22
08211-20341-000 WASHERWasher, rh; |
08211-20341-000 |
from US $1.76 |
||
|
23
|
23
08211-22341-000 WASHERPlate Washer, lh; |
08211-22341-000 |
from US $5.24 |
||
|
24
|
24
24321-17E60-000
Gear, 2nd driven (nt:31)
Gear, 2nd driven (nt:31); |
24321-17E60-000 |
— | ||
|
25
|
25
09300-28003-000 BUSH(28X32X9.5)Bush, 2nd driven gear |
09300-28003-000 |
from US $16.26 |
||
|
26
|
26
08211-28381-000 Washer |
08211-28381-000 |
US $3.62 |
||
| replacement | |||||
|
26
|
26
09181-28195-000 SHIM(28X38X1)Washer, rr final dr gr |
09181-28195-000 |
from US $6.49 |
||
|
27
|
27
09380-27001-000 CIRCLIPCirclip, idle driven gear |
09380-27001-000 |
from US $3.25 |
||
|
28
|
28
24331-17E60-000
GEAR 3RD DRIVEN B(NT:36)
Gear, 3rd driven (nt:30); |
24331-17E60-000 |
— | ||
|
29
|
29
24332-17E02-000
BUSH,3RD DRIVEN GEAR
|
24332-17E02-000 |
— | ||
|
30
|
30
09167-27001-000 WASHER,LOCKWasher, lh; |
09167-27001-000 |
from US $1.92 |
||
|
31
|
31
09167-27002-000 WASHER,LOCKWasher; |
09167-27002-000 |
from US $5.01 |
||
|
32
|
32
24341-17E60-000
Gear, 4th driven (nt:29)
Gear, 4th driven (nt:29); |
24341-17E60-000 |
— | ||
|
33
|
33
24351-17E60-000
Gear, 5th driven (nt:33)
Gear, 5th driven (nt:33); |
24351-17E60-000 |
— | ||
|
34
|
34
24361-17E60-000
GEAR,6TH DRIVEN B(NT:27)
Gear, 6th driven (nt:27); |
24361-17E60-000 |
— | ||
|
35
|
35
09263-20040-000 BEARING(20X34X20)Bearing, rh Bearing, rh; |
09263-20040-000 |
from US $42.40 |
||
|
36
|
36
04221-07209-000 PINPin (l:20) Pin (l:20); |
04221-07209-000 |
from US $0.96 |
||
|
37
|
37
09262-28025-000 BEARING(28X70X18)Bearing, lh; |
09262-28025-000 |
from US $62.32 |
||
|
38
|
38
09390-70001-000 C RING |
09390-70001-000 |
from US $2.74 |
||
|
39
|
39
09283-36008-000 SEAL,OIL(36X70X6)Oil seal (36x70x6); |
09283-36008-000 |
from US $12.01 |
||
|
40
|
40
24751-17E00-000 RETAINER,DRIVE SHAFT OIL SEALPlate, oil seal |
24751-17E00-000 |
from US $8.21 |
||
|
41
|
41
01500-06123-000
Bolt, front
Screw; |
01500-06123-000 |
— | ||
| replacement | |||||
|
41
|
41
01500-0612A-000 BOLTScrew; |
01500-0612A-000 |
from US $0.76 |
||
|
42
|
42
27510-21A00-000
SPROCKET,ENGINE
Sprocket, engine (nt:16); |
27510-21A00-000 |
— | ||
|
43
|
43
08211-25402-000 Washer (t:1.5) |
08211-25402-000 |
US $2.99 |
||
| replacement | |||||
|
43
|
43
09181-25268-000 SHIM(25X40X1.5)Shim (25x36x1.5) |
09181-25268-000 |
from US $1.92 |
||
|
44
|
44
09180-25098-000
Spacer,25x36x17
Spacer (25x36x17.7); |
09180-25098-000 |
— | ||
|
45
|
45
09159-20004-000 NUT |
09159-20004-000 |
from US $7.14 |
||
|
46
|
46
27600-17E20-108 Chain assy (rk50gsvz1,108l)Chain, drive (50gsvz1) rk |
27600-17E20-108 |
US $332.99 |
||
| replacement | |||||
|
46
|
46
27600-24F20-108 Chain,drive |
27600-24F20-108 |
from US $281.86 |
||
|
47
|
47
27620-17E20-000
Joint set, drive
|
27620-17E20-000 |
— | ||
| replacement | |||||
|
47
|
47
27620-24F20-000 Joint setJoint set, chain |
27620-24F20-000 |
from US $11.20 |
||