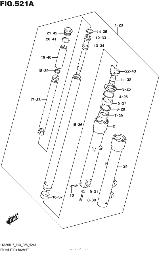
Front Fork Damper Diagram Suzuki LS650 Boulevard S40
- Year
- 2017
- Model code
- LS650BL7
- Sales region
- USA/ Canada
- Engine Capacity
- 650
- Model
- Boulevard S40
Difficulties in parts search?
Difficulties in parts search?
| Description | OEM Part # | Price | |||
|---|---|---|---|---|---|
|
1
|
1
51103-24B70-000 DAMPER ASSY,FR FORK,R |
51103-24B70-000 |
from US $563.20 |
||
|
2
|
2
51130-24B70-000 TUBE,OUTER,R |
51130-24B70-000 |
US $242.88 |
||
|
3
|
3
51173-20A00-000 SEAL,DUSTDust seal |
51173-20A00-000 |
from US $9.64 |
||
|
4
|
4
51156-40301-000 RING,STOPPERRing, oil seal stopper |
51156-40301-000 |
from US $2.58 |
||
|
5
|
5
51153-20A00-000 SEAL,OILOil seal |
51153-20A00-000 |
from US $11.37 |
||
|
6
|
6
51158-14100-000 WASHER(40X50X2.3)Washer |
51158-14100-000 |
from US $2.13 |
||
|
7
|
7
51167-13A00-000 METAL,SLIDE |
51167-13A00-000 |
from US $5.59 |
||
|
8
|
8
51147-16510-000 BOLT,FORK CYLINDER(10X25)Bolt,cylinder |
51147-16510-000 |
from US $2.46 |
||
|
9
|
9
51148-41310-000 GASKETGasket |
51148-41310-000 |
from US $1.52 |
||
|
10
|
10
07130-08407-000 BOLT |
07130-08407-000 |
from US $1.44 |
||
|
11
|
11
51195-24B01-000 PIECE,OIL LOCKPiece, oil lock |
51195-24B01-000 |
US $8.98 |
||
|
12
|
12
51146-24B01-000 CYLINDER |
51146-24B01-000 |
US $51.89 |
||
|
13
|
13
51177-49440-000 SPRING,REBOUNDSpring,fork rebound |
51177-49440-000 |
from US $8.32 |
||
|
14
|
14
51196-49440-000
RING,PISTON
|
51196-49440-000 |
— | ||
|
15
|
15
51120-24B01-000 TUBE,INNERTube, inner |
51120-24B01-000 |
from US $243.20 |
||
|
16
|
16
51121-14100-000 PISTONPiston |
51121-14100-000 |
from US $8.46 |
||
|
17
|
17
51171-24B00-000 SPRING |
51171-24B00-000 |
from US $38.27 |
||
|
18
|
18
51172-45C00-000 WASHER |
51172-45C00-000 |
from US $3.20 |
||
|
19
|
19
51176-24B01-000 SPACER,SPRINGSpacer |
51176-24B01-000 |
from US $6.15 |
||
|
20
|
20
51117-40300-000 O RING |
51117-40300-000 |
from US $2.24 |
||
|
21
|
21
51351-24B00-000 CAP |
51351-24B00-000 |
from US $32.02 |
||
|
22
|
22
51201-01DA0-000 PROTECTOR,FR FORK |
51201-01DA0-000 |
from US $13.47 |
||
|
23
|
23
51104-24B70-000 DAMPER ASSY,FR FORK,L |
51104-24B70-000 |
from US $563.20 |
||
|
24
|
24
51140-24B70-000 TUBE,OUTER,L |
51140-24B70-000 |
from US $242.88 |
||
|
25
|
25
51173-20A00-000 SEAL,DUSTDust seal |
51173-20A00-000 |
from US $9.64 |
||
|
26
|
26
51156-40301-000 RING,STOPPERRing, oil seal stopper |
51156-40301-000 |
from US $2.58 |
||
|
27
|
27
51153-20A00-000 SEAL,OILOil seal |
51153-20A00-000 |
from US $11.37 |
||
|
28
|
28
51158-14100-000 WASHER(40X50X2.3)Washer |
51158-14100-000 |
from US $2.13 |
||
|
29
|
29
51167-13A00-000 METAL,SLIDE |
51167-13A00-000 |
from US $5.59 |
||
|
30
|
30
51147-16510-000 BOLT,FORK CYLINDER(10X25)Bolt,cylinder |
51147-16510-000 |
from US $2.46 |
||
|
31
|
31
51148-41310-000 GASKETGasket |
51148-41310-000 |
from US $1.52 |
||
|
32
|
32
51195-24B01-000 PIECE,OIL LOCKPiece, oil lock |
51195-24B01-000 |
US $8.98 |
||
|
33
|
33
51146-24B01-000 CYLINDER |
51146-24B01-000 |
US $51.89 |
||
|
34
|
34
51177-49440-000 SPRING,REBOUNDSpring,fork rebound |
51177-49440-000 |
from US $8.32 |
||
|
35
|
35
51196-49440-000
RING,PISTON
|
51196-49440-000 |
— | ||
|
36
|
36
51120-24B01-000 TUBE,INNERTube, inner |
51120-24B01-000 |
from US $243.20 |
||
|
37
|
37
51121-14100-000 PISTONPiston |
51121-14100-000 |
from US $8.46 |
||
|
38
|
38
51171-24B00-000 SPRING |
51171-24B00-000 |
from US $38.27 |
||
|
39
|
39
51172-45C00-000 WASHER |
51172-45C00-000 |
from US $3.20 |
||
|
40
|
40
51176-24B01-000 SPACER,SPRINGSpacer |
51176-24B01-000 |
from US $6.15 |
||
|
41
|
41
51117-40300-000 O RING |
51117-40300-000 |
from US $2.24 |
||
|
42
|
42
51351-24B00-000 CAP |
51351-24B00-000 |
from US $32.02 |
||
|
43
|
43
51201-01DA0-000 PROTECTOR,FR FORK |
51201-01DA0-000 |
from US $13.47 |