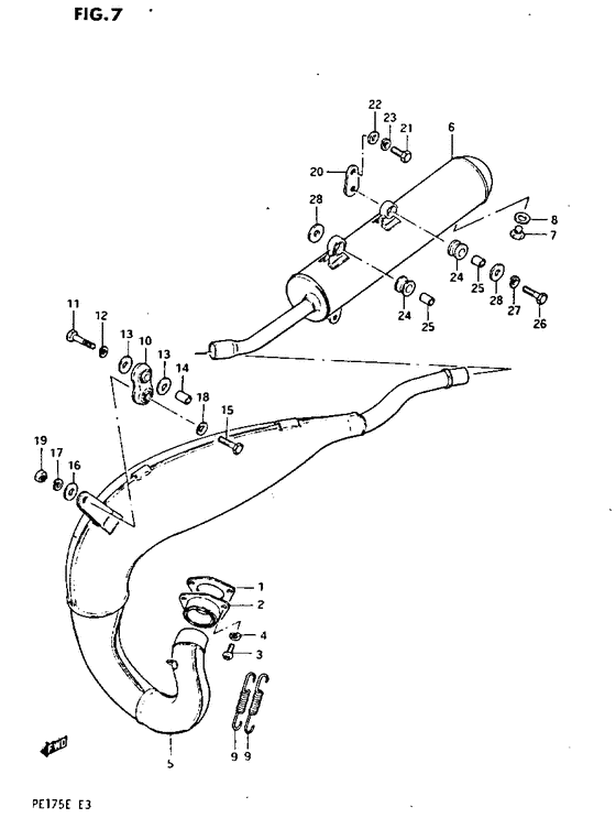
Muffler Diagram Suzuki PE175
- Year
- 1984
- Model code
- PE175E E
- Engine Capacity
- 175
- Model
- PE175
Difficulties in parts search?
Difficulties in parts search?
| Description | OEM Part # | Price | |||
|---|---|---|---|---|---|
|
1
|
1
14181-16300-000
Exh flange gasket
|
14181-16300-000 |
— | ||
| replacement | |||||
|
1
|
1
14181-16300-H17 GASKET,EXHAUST FLANGE |
14181-16300-H17 |
from US $3.72 |
||
|
2
|
2
14170-16301-000
Flange exhaust
|
14170-16301-000 |
— | ||
|
3
|
3
02112-06207-000 SCREWCross screw,6x20; |
02112-06207-000 |
from US $0.80 |
||
|
4
|
4
08321-01067-000 WASHER,LOCKWasher, lock; |
08321-01067-000 |
from US $0.76 |
||
|
5
|
5
14310-14420-H01
Muffler 1st
|
14310-14420-H01 |
— | ||
|
6
|
6
14303-14420-H01
Muffler assy 2n
|
14303-14420-H01 |
— | ||
|
7
|
7
09247-12103-000 PLUG(12X9)Plug, drain Plug 2nd muffler; |
09247-12103-000 |
from US $1.98 |
||
|
8
|
8
09168-12002-000 GASKET(12.1X16.2X3.7)Gasket Gasket oil galley; |
09168-12002-000 |
from US $0.76 |
||
|
9
|
9
09443-11002-000 SPRINGMuffler fit spring |
09443-11002-000 |
from US $2.99 |
||
|
10
|
10
14770-40000-000
DAMPER,MUFFLER
Muffler damper **; |
14770-40000-000 |
— | ||
|
11
|
11
01107-08508-000
Bolt
|
01107-08508-000 |
— | ||
| replacement | |||||
|
11
|
11
01500-08507-000 Bolt |
01500-08507-000 |
from US $4.88 |
||
|
12
|
12
08321-21088-000
Lock washer
|
08321-21088-000 |
— | ||
| replacement | |||||
|
12
|
12
08321-01087-000 WASHER,LOCKWasher, lock |
08321-01087-000 |
from US $0.76 |
||
|
13
|
13
09160-08035-000
Wasehr (8.5x29x1.6)
|
09160-08035-000 |
— | ||
| replacement | |||||
|
13
|
13
09160-08130-000 WASHER(8.5X24X1.6) |
09160-08130-000 |
from US $0.91 |
||
|
14
|
14
09180-08032-000
Spacer (8.2*12*y7)
|
09180-08032-000 |
— | ||
| replacement | |||||
|
14
|
14
09180-08143-000 SPACER(8.2X12X17) |
09180-08143-000 |
from US $1.82 |
||
|
15
|
15
01107-08358-000
Bolt 8 x 35
Bolt 8 x 35; |
01107-08358-000 |
— | ||
| replacement | |||||
|
15
|
15
01500-0835B-000 BOLTBolt, muffler support Bolt 8 x 35; |
01500-0835B-000 |
from US $0.96 |
||
|
16
|
16
08322-11088-000
Washer
|
08322-11088-000 |
— | ||
| replacement | |||||
|
16
|
16
08322-01087-000 WASHERLock washer |
08322-01087-000 |
from US $0.76 |
||
|
17
|
17
08321-21088-000
Lock washer
|
08321-21088-000 |
— | ||
| replacement | |||||
|
17
|
17
08321-01087-000 WASHER,LOCKWasher, lock |
08321-01087-000 |
from US $0.76 |
||
|
18
|
18
09160-08035-000
Wasehr (8.5x29x1.6)
|
09160-08035-000 |
— | ||
| replacement | |||||
|
18
|
18
09160-08130-000 WASHER(8.5X24X1.6) |
09160-08130-000 |
from US $0.91 |
||
|
19
|
19
08310-12088-000
Nut
|
08310-12088-000 |
— | ||
| replacement | |||||
|
19
|
19
08310-00087-000 NUT |
08310-00087-000 |
from US $0.76 |
||
|
20
|
20
14470-14410-000
Bracket,2nd muf
|
14470-14410-000 |
— | ||
|
21
|
21
01500-08207-000 Bolt |
01500-08207-000 |
from US $0.76 |
||
|
22
|
22
08322-11088-000
Washer
|
08322-11088-000 |
— | ||
| replacement | |||||
|
22
|
22
08322-01087-000 WASHERLock washer |
08322-01087-000 |
from US $0.76 |
||
|
23
|
23
08321-21088-000
Lock washer
|
08321-21088-000 |
— | ||
| replacement | |||||
|
23
|
23
08321-01087-000 WASHER,LOCKWasher, lock |
08321-01087-000 |
from US $0.76 |
||
|
24
|
24
09320-12043-000 CUSHIONCushion, exhaust support |
09320-12043-000 |
from US $7.45 |
||
|
25
|
25
09180-08032-000
Spacer (8.2*12*y7)
|
09180-08032-000 |
— | ||
| replacement | |||||
|
25
|
25
09180-08143-000 SPACER(8.2X12X17) |
09180-08143-000 |
from US $1.82 |
||
|
26
|
26
01107-08358-000
Bolt 8 x 35
Bolt 8 x 35; |
01107-08358-000 |
— | ||
| replacement | |||||
|
26
|
26
01500-0835B-000 BOLTBolt, muffler support Bolt 8 x 35; |
01500-0835B-000 |
from US $0.96 |
||
|
27
|
27
08321-21088-000
Lock washer
|
08321-21088-000 |
— | ||
| replacement | |||||
|
27
|
27
08321-01087-000 WASHER,LOCKWasher, lock |
08321-01087-000 |
from US $0.76 |
||
|
28
|
28
09160-08002-000
Washer
|
09160-08002-000 |
— | ||
| replacement | |||||
|
28
|
28
09160-08135-000 WASHER(8.5X28X1.6)Washer, exhaust support |
09160-08135-000 |
from US $0.95 |
||