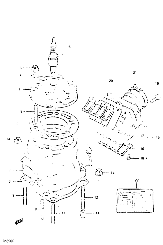
Cylinder Diagram Suzuki RM250
- Year
- 1984
- Model code
- RM250E(E/F) E
- Engine Capacity
- 250
- Model
- RM250
Difficulties in parts search?
Difficulties in parts search?
| Description | OEM Part # | Price | |||
|---|---|---|---|---|---|
|
1
|
1
11111-14130-000
Cylinder head
Model e |
11111-14130-000 |
— | ||
|
1
|
1
11111-14601-000
Head,cylinder
Model f |
11111-14601-000 |
— | ||
|
2
|
2
11141-14311-000
Gasket (t:1.2)
|
11141-14311-000 |
— | ||
| replacement | |||||
|
2
|
2
11141-13A60-000
GASKET,CYLINDER HEAD
|
11141-13A60-000 |
— | ||
|
3
|
3
08316-16085-000
Nut
|
08316-16085-000 |
— | ||
| replacement | |||||
|
3
|
3
08316-1008B-000 NUT |
08316-1008B-000 |
from US $0.76 |
||
|
4
|
4
09160-08053-000
Washer cylinder (Steel)
Washer; |
09160-08053-000 |
— | ||
| replacement | |||||
|
4
|
4
09160-08039-000 WASHER(8.5X19X2.3) STEELWasher; |
09160-08039-000 |
from US $1.12 |
||
|
5
|
5
09108-08155-000
Bolt stud
Stud bolt (l:42); Model e |
09108-08155-000 |
— | ||
|
5
|
5
09108-08145-000
Stud bolt (l:45)
Model f |
09108-08145-000 |
— | ||
| replacement | |||||
|
5
|
5
09108-08174-000
BOLT,STUD
Model f |
09108-08174-000 |
— | ||
|
6
|
6
09482-00114-000
Spark plug (ngk,br8ev)
Spark plug (ngk, br8ev); E4 |
09482-00114-000 |
— | ||
| replacement | |||||
|
6
|
6
09482-00511-000
PLUG,SPARK(R6918B-7)
Spark plug (ngk, br8ev); E4 |
09482-00511-000 |
— | ||
|
7
|
7
11210-14303-000
Cylinder
Model e |
11210-14303-000 |
— | ||
|
7
|
7
11210-14600-000
Cylinder
Model f |
11210-14600-000 |
— | ||
|
8
|
8
11241-14600-000
Gasket (t:0.5)
|
11241-14600-000 |
— | ||
| replacement | |||||
|
8
|
8
11241-14600-H17
GASKET,CYLINDER
|
11241-14600-H17 |
— | ||
|
9
|
9
09108-08142-000 BOLT,STUDStud bolt (l:30) Stud bolt (l:30); |
09108-08142-000 |
from US $1.52 |
||
|
10
|
10
09108-08143-000 BOLT,STUDStud bolt (l:35) Stud bolt (l:35); |
09108-08143-000 |
from US $2.56 |
||
|
11
|
11
09108-08144-000 BOLT,STUDStud bolt l:40 Stud bolt (l:40); |
09108-08144-000 |
from US $2.56 |
||
|
12
|
12
09108-08155-000
Bolt stud
Stud bolt (l:42); |
09108-08155-000 |
— | ||
|
13
|
13
04211-11169-000 PINPin, dowel Pin; |
04211-11169-000 |
from US $1.06 |
||
|
14
|
14
08316-16085-000
Nut
|
08316-16085-000 |
— | ||
| replacement | |||||
|
14
|
14
08316-1008B-000 NUT |
08316-1008B-000 |
from US $0.76 |
||
|
15
|
15
13150-14200-000 Reed valve assy |
13150-14200-000 |
US $72.15 |
||
| replacement | |||||
|
15
|
15
13150-01C00-000 VALVE ASSY,REED |
13150-01C00-000 |
US $193.31 |
||
|
16
|
16
13152-14200-000
Stopper reed valve
|
13152-14200-000 |
— | ||
| replacement | |||||
|
16
|
16
13150-01C00-000 VALVE ASSY,REED |
13150-01C00-000 |
US $193.31 |
||
|
17
|
17
13153-14200-000 VALVE,REEDValve, reed |
13153-14200-000 |
US $41.98 |
||
|
18
|
18
02112-03088-000
Screw
|
02112-03088-000 |
— | ||
| replacement | |||||
|
18
|
18
02112-0308A-000 SCREW |
02112-0308A-000 |
from US $2.84 |
||
|
19
|
19
01107-06208-000
Bolt
|
01107-06208-000 |
— | ||
| replacement | |||||
|
19
|
19
01500-06207-000 BOLT |
01500-06207-000 |
from US $0.76 |
||
|
20
|
20
13110-14600-000
PIPE,INTAKE
|
13110-14600-000 |
— | ||
|
21
|
21
09402-56306-000
Clamp
|
09402-56306-000 |
— | ||
| replacement | |||||
|
21
|
21
09402-56901-000 CLAMP |
09402-56901-000 |
from US $2.28 |
||
|
22
|
22
11400-14872-000
Gasket set
Opt |
11400-14872-000 |
— | ||
| replacement | |||||
|
22
|
22
11400-14878-000
GASKET SET
Opt |
11400-14878-000 |
— | ||