Frame cover Diagram Suzuki RM250
- Year
- 1984
- Model code
- RM250E(E/F) E
- Engine Capacity
- 250
- Model
- RM250
Difficulties in parts search?
Difficulties in parts search?
| Description | OEM Part # | Price | |||
|---|---|---|---|---|---|
|
1
|
1
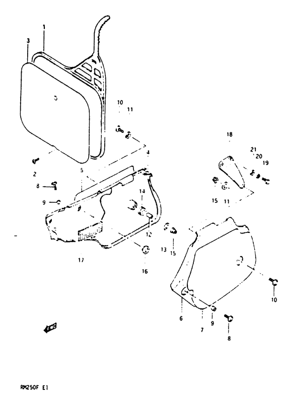
94911-14501-163
Plate,front number (yellow)
|
94911-14501-163 |
— | ||
| replacement | |||||
|
1
|
1
94911-00B10-25Y PLATE,FRONT NUMBER(YELLOW)Plate, front number (yellow) |
94911-00B10-25Y |
from US $60 |
||
|
2
|
2
02142-05165-000
Screw
|
02142-05165-000 |
— | ||
| replacements | |||||
|
2
|
2
02142-0516B-000 SCREW |
02142-0516B-000 |
from US $0.80 |
||
|
2
|
2
02142-0516A-000 SCREWScrew |
02142-0516A-000 |
from US $0.76 |
||
|
3
|
3
68255-14500-722
Tape set,front number (green)
|
68255-14500-722 |
— | ||
|
4
|
4
47111-14500-163
Cover,frame rh (yellow)
|
47111-14500-163 |
— | ||
| replacement | |||||
|
4
|
4
47111-14500-13L
New Genuine Part
|
47111-14500-13L |
— | ||
|
5
|
5
68132-14500-722
Emblem, rh (green)
|
68132-14500-722 |
— | ||
| replacement | |||||
|
5
|
5
68132-14500-291
Emblem no. plat
|
68132-14500-291 |
— | ||
|
6
|
6
47211-14500-163
Cover,frame lh
Cover, frame lh (yellow); |
47211-14500-163 |
— | ||
|
7
|
7
68142-14500-722
Emblem, lh (green)
|
68142-14500-722 |
— | ||
|
8
|
8
09125-06045-000 SCREW(6X14)Screw, front; |
09125-06045-000 |
from US $12.70 |
||
|
9
|
9
09180-06098-000
Spacer (6.1x8x3.5)
|
09180-06098-000 |
— | ||
| replacement | |||||
|
9
|
9
09180-06245-000 SPACER(6.1X8X3.5)Spacer (6.1x8x3.5) |
09180-06245-000 |
from US $1.34 |
||
|
10
|
10
09125-06046-000 SCREW(6X20)Screw,rear rh |
09125-06046-000 |
from US $12.10 |
||
|
11
|
11
94927-14100-000
Washer frame co
|
94927-14100-000 |
— | ||
| replacements | |||||
|
11
|
11
09160-06084-000 WASHER(6.5X18X1.6) |
09160-06084-000 |
from US $0.76 |
||
|
11
|
11
09160-06006-000
Washer
|
09160-06006-000 |
— | ||
|
12
|
12
09180-06011-000
Spacer
|
09180-06011-000 |
— | ||
| replacement | |||||
|
12
|
12
09180-06263-000 SPACER(6.5X9X9) |
09180-06263-000 |
from US $1.52 |
||
|
13
|
13
09160-06004-000
Washer (6.5x24x1.6)
|
09160-06004-000 |
— | ||
| replacement | |||||
|
13
|
13
09160-06134-000 WASHER(6.5X24X1.6)Washer, holder |
09160-06134-000 |
from US $0.96 |
||
|
14
|
14
09320-08018-000 CUSHIONCushion, lh Cushion, rear rh; |
09320-08018-000 |
from US $1.49 |
||
|
15
|
15
08319-21068-000
U nut
Nut, rear; |
08319-21068-000 |
— | ||
| replacement | |||||
|
15
|
15
08319-2106A-000 NUTNut, rear; |
08319-2106A-000 |
from US $1.12 |
||
|
16
|
16
09321-10013-000
Cushion, muffler
|
09321-10013-000 |
— | ||
| replacement | |||||
|
16
|
16
09321-10018-000 CUSHION |
09321-10018-000 |
from US $2.13 |
||
|
17
|
17
47122-14500-000
Heat shield fra
Heat shild, frame cover; |
47122-14500-000 |
— | ||
|
18
|
18
47225-14500-000
Stay,frame cover lh
|
47225-14500-000 |
— | ||
|
19
|
19
01107-06166-000
Bolt
|
01107-06166-000 |
— | ||
| replacement | |||||
|
19
|
19
01500-0616A-000 Bolt |
01500-0616A-000 |
from US $0.76 |
||
|
20
|
20
08321-21066-000
Lock washer
|
08321-21066-000 |
— | ||
| replacement | |||||
|
20
|
20
08321-0106A-000 WASHER,LOCK |
08321-0106A-000 |
from US $0.76 |
||
|
21
|
21
09160-06019-000 WASHER(6.5X16X1.2)Washer (6.5x16x1.2) Washer; |
09160-06019-000 |
from US $0.76 |
||