Evap System (Vl800Tl7 E33) Diagram Suzuki VL800 Boulevard C50T
- Year
- 2017
- Model code
- VL800TL7
- Sales region
- USA/ Canada
- Engine Capacity
- 800
- Model
- VL800T
Difficulties in parts search?
Difficulties in parts search?
| Description | OEM Part # | Price | |||
|---|---|---|---|---|---|
|
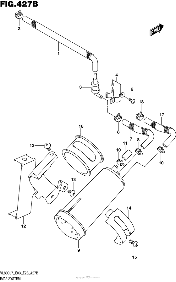
1
|
1
44434-39G01-000 HOSE,TANK & BREATHER VALVE |
44434-39G01-000 |
from US $19.69 |
||
|
2
|
2
09401-11413-000 CLIP |
09401-11413-000 |
from US $0.96 |
||
|
3
|
3
44240-17C00-000 VALVE,FUEL TANK BREATHER |
44240-17C00-000 |
from US $30.73 |
||
|
4
|
4
44892-24A00-000 PLATE,FUEL TANK BREATHER NO.2Plate, breather valve |
44892-24A00-000 |
from US $2.13 |
||
|
5
|
5
44894-24A00-000 CUSHION |
44894-24A00-000 |
from US $0.92 |
||
|
6
|
6
02142-0408A-000 SCREW |
02142-0408A-000 |
from US $2.13 |
||
|
7
|
7
44435-39G10-000 HOSE,BREATHER VALVE & CANISTER |
44435-39G10-000 |
from US $15.16 |
||
|
8
|
8
09401-11413-000 CLIP |
09401-11413-000 |
from US $0.96 |
||
|
9
|
9
17200-17H00-000
CANISTER SET
|
17200-17H00-000 |
— | ||
| replacement | |||||
|
9
|
9
17200-17H01-000 Canister Set |
17200-17H01-000 |
from US $191.36 |
||
|
10
|
10
09401-12404-000 CLIPClip |
09401-12404-000 |
from US $1.52 |
||
|
11
|
11
09251-07003-000 CAP(OD:11.5) |
09251-07003-000 |
from US $1.52 |
||
|
12
|
12
44880-43H00-000 BRACKET,FI CONTROL UNIT |
44880-43H00-000 |
from US $14.68 |
||
|
13
|
13
09139-06108-000 SCREW(6X12)Screw, rh (6x12) |
09139-06108-000 |
US $17.30 |
||
|
14
|
14
44882-26E00-000 HOLDER,CANISTER |
44882-26E00-000 |
from US $7.58 |
||
|
15
|
15
02142-0610A-000 SCREW |
02142-0610A-000 |
from US $0.80 |
||
|
16
|
16
44883-26E00-000 CUSHION,CANISTER |
44883-26E00-000 |
from US $7.07 |
||
|
17
|
17
44436-43H00-000 HOSE,CSTR PURGE |
44436-43H00-000 |
from US $18.58 |
||
|
18
|
18
09401-11413-000 CLIP |
09401-11413-000 |
from US $0.96 |
||