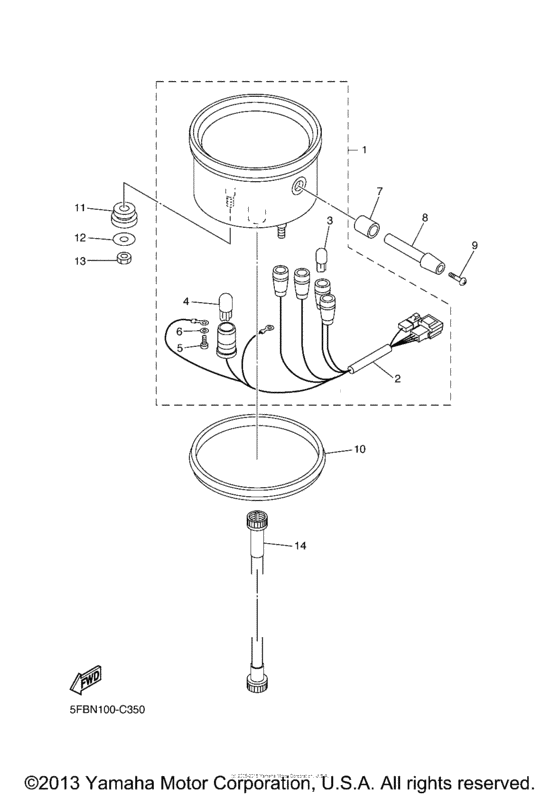
Meter Diagram Yamaha XVS650 V-Star Custom
- Year
- 2008
- Model code
- 3B6A
- Sales region
- USA
- Базовая модель
- XVS65XR
- Engine Capacity
- 650
- Model
- XVS650 (V-Star Custom)
Difficulties in parts search?
Difficulties in parts search?
| Description | OEM Part # | Price | |||
|---|---|---|---|---|---|
|
1
|
1
4VR-83580-40-00 Speedometer Assy (Mph) |
4VR-83580-40-00 |
US $618.21 |
||
|
2
|
2
5SC-83520-20-00 Socket Cord Assy |
5SC-83520-20-00 |
US $59.13 |
||
|
3
|
3
3FV-83517-00-00 Bulb (12V-1.7W)12V-1.7W |
3FV-83517-00-00 |
from US $3.32 |
||
|
4
|
4
3GM-83517-00-00 Bulb (12V-1.7W)12V-1.7W |
3GM-83517-00-00 |
from US $3.26 |
||
|
5
|
5
98502-03010-00 Screw, Pan Head |
98502-03010-00 |
from US $1.98 |
||
| replacement | |||||
|
5
|
5
98580-03010-00 Screw Pan Head |
98580-03010-00 |
from US $1.98 |
||
|
6
|
6
92902-03100-00 Washer |
92902-03100-00 |
US $1.21 |
||
| replacement | |||||
|
6
|
6
92990-03100-00 Washer, Spring |
92990-03100-00 |
from US $1.21 |
||
|
7
|
7
4TR-83535-00-00 Tube |
4TR-83535-00-00 |
from US $1.84 |
||
|
8
|
8
1JK-83578-00-00 Knob, Trip Meter |
1JK-83578-00-00 |
from US $6.66 |
||
|
9
|
9
90157-02031-00 Screw, Pan Head |
90157-02031-00 |
from US $1.65 |
||
|
10
|
10
4TR-83513-00-00 Damper |
4TR-83513-00-00 |
from US $9.78 |
||
|
11
|
11
4TR-83526-00-00 Damper 2 |
4TR-83526-00-00 |
from US $5.10 |
||
|
12
|
12
90201-05033-00 Washer, Plate |
90201-05033-00 |
from US $1.28 |
||
|
13
|
13
95307-05700-00 Nut |
95307-05700-00 |
from US $2.83 |
||
| replacement | |||||
|
13
|
13
953-17057-00-00 Nut |
953-17057-00-00 |
from US $2.42 |
||
|
14
|
14
4VR-83550-01-00 Speedometer Cable Assy |
4VR-83550-01-00 |
from US $32.30 |
||