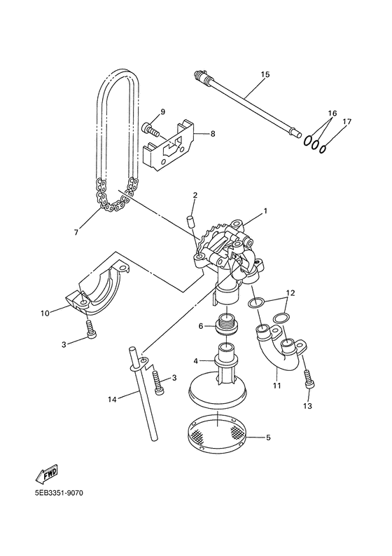
Oil pump Diagram Yamaha YZF-R6/ YZF600 R6
- Year
- 2000
- Colour
- Deep Purplish Blue Metallic C (DPBMC; 0564)
- Model code
- 5EB6
- Sales region
- Finland (030)
- Базовая модель
- YZF-R6
- Engine Capacity
- 600
- Model
- YZF-R6
Difficulties in parts search?
Difficulties in parts search?
| Description | OEM Part # | Price | |||
|---|---|---|---|---|---|
|
01
|
01
5EB-13300-00-00 Oil Pump Assy |
5EB-13300-00-00 |
from US $178.23 |
||
| replacement | |||||
|
01
|
01
5MT-13300-00-00 Oil Pump Assy |
5MT-13300-00-00 |
from US $178.23 |
||
|
02
|
02
99530-08012-00 Pin, Dowel |
99530-08012-00 |
from US $1.07 |
||
|
03
|
03
913-17060-30-00
Bolt
|
913-17060-30-00 |
— | ||
| replacement | |||||
|
03
|
03
90110-06138-00 Bolt |
90110-06138-00 |
from US $0.99 |
||
|
04
|
04
5EB-13412-00-00 Housing, Strainer |
5EB-13412-00-00 |
from US $37.16 |
||
|
05
|
05
5EB-13411-00-00 Strainer, Oil |
5EB-13411-00-00 |
from US $16.31 |
||
|
06
|
06
5EB-13415-00-00 Seal, Oil Strainer |
5EB-13415-00-00 |
from US $4.82 |
||
|
07
|
07
94580-25080-00 Chain, Drive (Did25 80L) |
94580-25080-00 |
from US $10.48 |
||
|
08
|
08
5EB-13898-00-00 Holder |
5EB-13898-00-00 |
from US $19.13 |
||
|
09
|
09
90110-06001-00 Bolt |
90110-06001-00 |
US $1.07 |
||
| replacement | |||||
|
09
|
09
91317-06016-00 Bolt |
91317-06016-00 |
from US $1.04 |
||
|
10
|
10
5EB-13327-00-00 Cover, Pump Gear |
5EB-13327-00-00 |
from US $24.24 |
||
| replacement | |||||
|
10
|
10
5MT-13327-00-00 Cover, Pump Gear |
5MT-13327-00-00 |
from US $24.24 |
||
|
11
|
11
5EB-13416-00-00
Pipe, Oil 1
|
5EB-13416-00-00 |
— | ||
|
12
|
12
93210-14579-00 O-Ring (26H) |
93210-14579-00 |
from US $1.28 |
||
|
13
|
13
90110-06226-00 Bolt |
90110-06226-00 |
from US $1.07 |
||
| replacement | |||||
|
13
|
13
91317-06012-00 Bolt |
91317-06012-00 |
from US $1.07 |
||
|
14
|
14
5EB-13161-00-00 Pipe, Delivery 1 |
5EB-13161-00-00 |
from US $8.78 |
||
|
15
|
15
5EB-1316E-00-00 Pipe, Delivery 5 |
5EB-1316E-00-00 |
from US $52.36 |
||
|
16
|
16
932-10091-65-00
O-Ring
|
932-10091-65-00 |
— | ||
| replacements | |||||
|
16
|
16
93210-09811-00 O-Ring |
93210-09811-00 |
from US $1.28 |
||
|
16
|
16
93210-09350-00 O-Ring |
93210-09350-00 |
from US $1.35 |
||
|
17
|
17
932-10066-67-00 O-Ring |
932-10066-67-00 |
from US $1.84 |
||