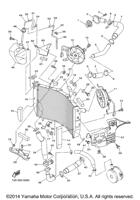
Radiator & hose Diagram Yamaha YZF-R6/ YZF600 R6
- Year
- 2012
- Model code
- 1JSA
- Sales region
- USA
- Базовая модель
- YZFR6BB
- Engine Capacity
- 600
- Model
- YZF-R6
Difficulties in parts search?
Difficulties in parts search?
| Description | OEM Part # | Price | |||
|---|---|---|---|---|---|
|
1
|
1
5SL-12410-00-00 Thermostat Assy |
5SL-12410-00-00 |
from US $53.19 |
||
| replacement | |||||
|
1
|
1
5SL-12410-01-00 THERMOSTAT ASSY |
5SL-12410-01-00 |
from US $53.19 |
||
|
2
|
2
2C0-12413-00-00 Cover, Thermostat |
2C0-12413-00-00 |
from US $12.07 |
||
|
3
|
3
91312-06020-00 Bolt, Hexagon Socket Head |
91312-06020-00 |
from US $1.21 |
||
| replacement | |||||
|
3
|
3
913-14060-20-00 Bolt |
913-14060-20-00 |
from US $1.07 |
||
|
4
|
4
2C0-12578-00-00 Hose 3 |
2C0-12578-00-00 |
from US $4.19 |
||
| replacement | |||||
|
4
|
4
2C0-12578-01-00 HOSE 3 |
2C0-12578-01-00 |
from US $4.53 |
||
|
5
|
5
2C0-12481-00-00 Pipe 1 |
2C0-12481-00-00 |
from US $31.03 |
||
|
6
|
6
904-50350-01-00 Hose Clamp Assy |
904-50350-01-00 |
from US $5.24 |
||
|
7
|
7
2C0-12552-00-00 Hose 8 |
2C0-12552-00-00 |
from US $22.10 |
||
|
8
|
8
904-50350-01-00 Hose Clamp Assy |
904-50350-01-00 |
from US $5.24 |
||
|
9
|
9
5GV-1246E-00-00 Cover 2 |
5GV-1246E-00-00 |
from US $3.26 |
||
|
10
|
10
13S-12461-00-00 Radiator Comp |
13S-12461-00-00 |
from US $504.68 |
||
|
11
|
11
2C0-12405-00-00 Blower Assy |
2C0-12405-00-00 |
from US $222.44 |
||
|
12
|
12
2C0-12405-10-00 Blower Assy |
2C0-12405-10-00 |
from US $222.44 |
||
|
13
|
13
5GJ-12675-00-00 Bolt, Blower Holding |
5GJ-12675-00-00 |
from US $1.34 |
||
|
14
|
14
2C0-12659-00-00 Damper, Air Shroud 2 |
2C0-12659-00-00 |
from US $2.13 |
||
|
15
|
15
2C0-12668-00-00 Damper, Air Shroud 3 |
2C0-12668-00-00 |
from US $1.70 |
||
|
16
|
16
904-80153-63-00 Grommet |
904-80153-63-00 |
from US $1.56 |
||
|
17
|
17
903-87073-91-00 Collar |
903-87073-91-00 |
from US $1.84 |
||
|
18
|
18
90387-0614M-00 Collar |
90387-0614M-00 |
from US $4.11 |
||
|
19
|
19
90480-11005-00 Grommet |
90480-11005-00 |
from US $1.98 |
||
|
20
|
20
13S-12659-00-00 Damper, Air Shroud 2 |
13S-12659-00-00 |
from US $1.70 |
||
|
21
|
21
13S-12678-00-00 Damper, Air Shroud 5 |
13S-12678-00-00 |
from US $1.70 |
||
|
22
|
22
13S-12688-00-00 Damper, Shroud 7 |
13S-12688-00-00 |
from US $1.70 |
||
|
23
|
23
5SL-12462-00-00 Cap, Radiator |
5SL-12462-00-00 |
from US $17.20 |
||
|
24
|
24
90105-06040-00 Bolt, Flange |
90105-06040-00 |
from US $1.70 |
||
|
25
|
25
95807-06035-00 Bolt, Flange |
95807-06035-00 |
from US $1.07 |
||
| replacement | |||||
|
25
|
25
95817-06035-00 Bolt, Flange |
95817-06035-00 |
from US $1.07 |
||
|
26
|
26
913-17060-35-00
Bolt,socket
|
913-17060-35-00 |
— | ||
| replacements | |||||
|
26
|
26
90110-06X45-00 Bolt, Hexagon Sock |
90110-06X45-00 |
US $41.20 |
||
|
26
|
26
901-1006X-79-00 Bolt, Hexagon Socket Head |
901-1006X-79-00 |
from US $3.98 |
||
|
27
|
27
90387-0614M-00 Collar |
90387-0614M-00 |
from US $4.11 |
||
|
28
|
28
90201-06071-00 Washer, Plate |
90201-06071-00 |
from US $2.38 |
||
| replacement | |||||
|
28
|
28
90201-063J2-00 Washer, Plate(36Y) |
90201-063J2-00 |
from US $3.12 |
||
|
29
|
29
2C0-12535-00-00 Plate |
2C0-12535-00-00 |
from US $8.22 |
||
|
30
|
30
13S-12669-00-00 Damper, Air Shroud 4 |
13S-12669-00-00 |
from US $1.70 |
||
|
31
|
31
902-69070-07-00 Rivet |
902-69070-07-00 |
from US $1.34 |
||
|
32
|
32
2C0-1244E-00-00 Bracket 1 |
2C0-1244E-00-00 |
from US $7.93 |
||
|
33
|
33
958-27060-12-00
Bolt, Flange
|
958-27060-12-00 |
— | ||
| replacement | |||||
|
33
|
33
958-17060-12-00 Bolt, Flange |
958-17060-12-00 |
from US $1.07 |
||
|
34
|
34
2C0-12579-00-00 Hose 4 |
2C0-12579-00-00 |
from US $22.39 |
||
|
35
|
35
904-50350-01-00 Hose Clamp Assy |
904-50350-01-00 |
from US $5.24 |
||
|
36
|
36
2C0-12582-00-00 Joint, Hose 2 |
2C0-12582-00-00 |
from US $34.14 |
||
|
37
|
37
2C0-12551-00-00 Hose 7 |
2C0-12551-00-00 |
from US $13.32 |
||
|
38
|
38
904-50350-01-00 Hose Clamp Assy |
904-50350-01-00 |
from US $5.24 |
||
|
39
|
39
904-50350-01-00 Hose Clamp Assy |
904-50350-01-00 |
from US $5.24 |
||
|
40
|
40
90467-310A0-00 Clip |
90467-310A0-00 |
from US $3.83 |
||
|
41
|
41
2C0-12589-00-00 Hose 6 |
2C0-12589-00-00 |
from US $13.74 |
||
|
42
|
42
90467-200A0-00 Clip |
90467-200A0-00 |
from US $5.96 |
||
|
43
|
43
90450-22017-00 Hose Clamp Assy |
90450-22017-00 |
from US $7.65 |
||
| replacement | |||||
|
43
|
43
90450-22M14-00 Hose Clamp Assy(64X) |
90450-22M14-00 |
from US $7.65 |
||
|
44
|
44
2C0-12491-00-00 Clamp 1 |
2C0-12491-00-00 |
from US $9.92 |
||
|
45
|
45
950-27100-20-00 Bolt, Flange(Jn5) |
950-27100-20-00 |
from US $2.74 |
||
|
46
|
46
2C0-21871-00-00 Tank, Recovery |
2C0-21871-00-00 |
from US $28.19 |
||
|
47
|
47
903-87066-81-00
Collar
|
903-87066-81-00 |
— | ||
| replacement | |||||
|
47
|
47
90387-06857-00 Collar |
90387-06857-00 |
from US $1.42 |
||
|
48
|
48
2C0-21875-00-00 Cap |
2C0-21875-00-00 |
from US $9.49 |
||
|
49
|
49
26H-21828-00-00 Elbow |
26H-21828-00-00 |
from US $3.98 |
||
|
50
|
50
2C0-21816-00-00 Pipe 1 |
2C0-21816-00-00 |
from US $8.93 |
||
| replacement | |||||
|
50
|
50
2C0-21816-01-00 PIPE 1 |
2C0-21816-01-00 |
from US $8.93 |
||
|
51
|
51
2C0-1243F-00-00 Hose, 3 |
2C0-1243F-00-00 |
from US $4.96 |
||
|
52
|
52
90467-08003-00 Clip 101235600 |
90467-08003-00 |
from US $1.70 |
||
|
53
|
53
90467-10M04-00 Clip |
90467-10M04-00 |
from US $2.69 |
||
|
54
|
54
90467-08003-00 Clip 101235600 |
90467-08003-00 |
from US $1.70 |
||
|
55
|
55
95802-06014-00 Bolt, Flange |
95802-06014-00 |
from US $1.07 |
||
| replacement | |||||
|
55
|
55
95817-06014-00 Bolt, Flange |
95817-06014-00 |
from US $1.07 |
||
|
56
|
56
90464-10M38-00 Clamp |
90464-10M38-00 |
from US $3.12 |
||
|
57
|
57
13S-2836H-00-00 Bracket 5 |
13S-2836H-00-00 |
from US $16.43 |
||
|
58
|
58
90183-06069-00 Nut, Spring |
90183-06069-00 |
from US $3.54 |
||
|
59
|
59
95802-06014-00 Bolt, Flange |
95802-06014-00 |
from US $1.07 |
||
| replacement | |||||
|
59
|
59
95817-06014-00 Bolt, Flange |
95817-06014-00 |
from US $1.07 |
||
|
60
|
60
2C0-1246H-00-00 Cover 5 |
2C0-1246H-00-00 |
from US $7.23 |
||
|
61
|
61
13S-12668-00-00 Damper, Air Shroud 3 |
13S-12668-00-00 |
US $1.84 |
||
|
62
|
62
90269-06083-00 Rivet |
90269-06083-00 |
from US $1.56 |
||
| replacement | |||||
|
62
|
62
902-69060-01-00 Rivet |
902-69060-01-00 |
from US $1.34 |
||