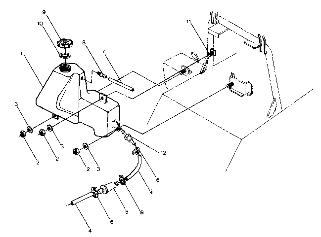
Oil tank (Star, Sprint and Sprint E/S) Diagram Polaris NOR Sprint
- Model code
- N870933
- Year
- 1987
- Sales region
- General
- Stroke (2-stroke or 4-stroke)
- 2 stroke
Difficulties in parts search?
Parts list
Difficulties in parts search?
| Description | OEM Part # | Price | |||
|---|---|---|---|---|---|
|
1
|
1
5430593
Tank-oil
No Longer Available; |
5430593 |
— | ||
|
2
|
2
7542122 Nut-nylok(10)10; |
7542122 |
US $26.30 |
||
|
3
|
3
7558302 Washer,wrought10; |
7558302 |
US $2.45 |
||
|
4
|
4
2870563
Fuel line-50ft.pkg.
|
2870563 |
— | ||
| replacement | |||||
|
4
|
4
8450003-1525 Line,fuel,1/4 id(1525 cm,) |
8450003-1525 |
US $85.45 |
||
|
5
|
5
2530009 Filter,small,in-line,(10)10; |
2530009 |
US $6.56 |
||
|
6
|
6
7080307 Clamp,hose(10)10; |
7080307 |
US $0.79 |
||
|
7
|
7
2200190
Kit-tank vent
|
2200190 |
— | ||
|
8
|
8
5430579 Vent-tank |
5430579 |
US $46.90 |
||
|
9
|
9
5430594
Cap-oil tank
No Longer Available; |
5430594 |
— | ||
|
10
|
10
5810141 Gasket-oil cap |
5810141 |
US $2.66 |
||
|
11
|
11
7512240 Bolt10; |
7512240 |
US $2.45 |
||
|
12
|
12
7052023 Fitting - outlet(10)10; |
7052023 |
US $16.24 |
||