Master cylinder assembly Diagram Polaris Trail Widetrak
- Model code
- 0902064
- Year
- 1990
- Sales region
- General
- Stroke (2-stroke or 4-stroke)
- 2 stroke
Difficulties in parts search?
Difficulties in parts search?
| Description | OEM Part # | Price | |||
|---|---|---|---|---|---|
|
1
|
1
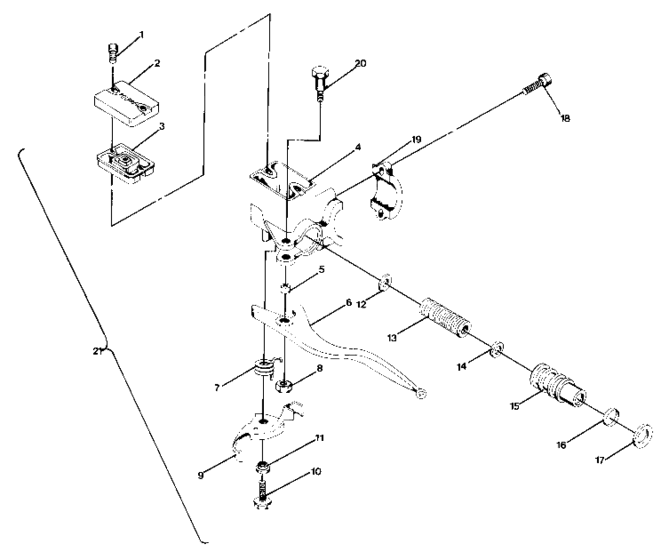
7512016
Screw
10; |
7512016 |
— | ||
|
2
|
2
5630338
Cover,master cyl,
|
5630338 |
— | ||
|
3
|
3
5410527 Gasket,master cyl, |
5410527 |
US $6.65 |
||
|
4
|
4
5130691
Housing,master cyl.
Cannot Purchase as Assembly; |
5130691 |
— | ||
|
5
|
5
5332931
Bushing,brake lever
|
5332931 |
— | ||
|
6
|
6
5630337
Lever, brake
|
5630337 |
— | ||
| replacement | |||||
|
6
|
6
5630409
Lever, brake
|
5630409 |
— | ||
|
7
|
7
7041229 Spring,pk,brake |
7041229 |
US $20.69 |
||
|
8
|
8
7542124 Nut10; |
7542124 |
US $1.89 |
||
|
9
|
9
5222310
Lever,parking brake
|
5222310 |
— | ||
|
10
|
10
7511865
Screw
10; |
7511865 |
— | ||
|
11
|
11
5020545 Bushing,pk,brake lever |
5020545 |
US $4.43 |
||
|
12
|
12
7555708 Washer10; |
7555708 |
US $2.45 |
||
|
13
|
13
7041067
Spring-inner
|
7041067 |
— | ||
| replacement | |||||
|
13
|
13
7041203 Spring,compression,(10) |
7041203 |
US $18.66 |
||
|
14
|
14
5410164 U packing seal |
5410164 |
US $4.73 |
||
|
15
|
15
5020520
Piston, master cyl,
|
5020520 |
— | ||
|
16
|
16
5410163 O ring (10) |
5410163 |
US $2.28 |
||
|
17
|
17
3610022 Seal, oil |
3610022 |
US $15.75 |
||
|
18
|
18
7512290 Bolt,socket head10; |
7512290 |
US $3.26 |
||
|
19
|
19
5630342
Clamp, master cyl,
|
5630342 |
— | ||
|
20
|
20
7512287 Bolt,brake lever10; |
7512287 |
US $3.75 |
||
|
21
|
21
1930646
Master cyl. asm.
Incl. 1-20; |
1930646 |
— | ||
| replacement | |||||
|
21
|
21
2050070
Master cyl.asm,3/4"
Incl. 1-20; |
2050070 |
— | ||