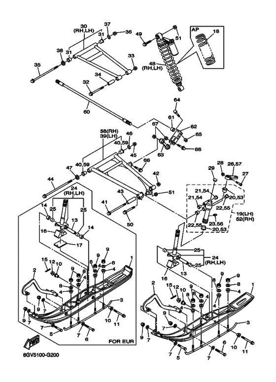
Ski Diagram Yamaha RX10/RXW10 Apex L-TX GT 40-yh Anniversary
- Model code
- 8GV5
- Engine Capacity
- 998
- Year
- 2008
- Sales region
- Europe (020)
- Colour
- Bluish White Cocktail 1 (BW C1; 0390)
- Color Variant
- A
- Power
- 150 hp
- Model
- Apex L-TX GT
Difficulties in parts search?
Difficulties in parts search?
| Description | OEM Part # | Price | |||
|---|---|---|---|---|---|
|
1
|
1
8ES-F3711-00-00 Ski 1 |
8ES-F3711-00-00 |
US $117.99 |
||
| replacement | |||||
|
1
|
1
8ES-23711-00-BK Ski 1 |
8ES-23711-00-BK |
US $139.63 |
||
|
2
|
2
8FB-F3712-00-00 Reinforcement, Head |
8FB-F3712-00-00 |
from US $31.91 |
||
| replacements | |||||
|
2
|
2
8DM-23712-00-RD
Reinforcement, Head
|
8DM-23712-00-RD |
— | ||
|
2
|
2
999-99999-99-00
Not Available
|
999-99999-99-00 |
— | ||
|
3
|
3
8EK-F3731-01-00
Runner 1
|
8EK-F3731-01-00 |
— | ||
| replacement | |||||
|
3
|
3
8DM-23731-00-XX Runner 1 :sm |
8DM-23731-00-XX |
US $259.92 |
||
|
4
|
4
8EK-F3751-00-00 Bush, Ski 1 |
8EK-F3751-00-00 |
from US $4.68 |
||
| replacements | |||||
|
4
|
4
999-99999-99-00
Not Available
|
999-99999-99-00 |
— | ||
|
4
|
4
8EK-23751-00-00 Bush, Ski 1 |
8EK-23751-00-00 |
from US $4.68 |
||
|
5
|
5
9702M-08055-00 Bolt |
9702M-08055-00 |
from US $4.68 |
||
| replacement | |||||
|
5
|
5
97017-08055-00 Bolt |
97017-08055-00 |
from US $4.68 |
||
|
6
|
6
9702M-08100-00 Bolt |
9702M-08100-00 |
from US $2.13 |
||
| replacement | |||||
|
6
|
6
970-27081-00-00 Bolt, Hexagon |
970-27081-00-00 |
from US $2.13 |
||
|
7
|
7
90201-08784-00 Washer, Plate |
90201-08784-00 |
from US $1.70 |
||
|
8
|
8
90201-086P8-00 Washer, Plate(3Xp) |
90201-086P8-00 |
from US $1.70 |
||
|
9
|
9
9570M-08300-00 Nut, Nylon |
9570M-08300-00 |
from US $3.21 |
||
| replacement | |||||
|
9
|
9
957-17083-00-00 Nut, Flange |
957-17083-00-00 |
from US $3.26 |
||
|
10
|
10
8EX-F3754-00-00 Collar 1 |
8EX-F3754-00-00 |
from US $10.80 |
||
| replacements | |||||
|
10
|
10
8JH-23754-00-00 Collar, 1 |
8JH-23754-00-00 |
from US $11.76 |
||
|
10
|
10
8EX-23754-00-00 Collar, 1 |
8EX-23754-00-00 |
from US $11.76 |
||
|
11
|
11
90105-10070-00 Bolt, Flange |
90105-10070-00 |
from US $7.65 |
||
|
12
|
12
956-07102-00-00 Nut, U Flange |
956-07102-00-00 |
from US $5.67 |
||
|
13
|
13
90387-1012H-00 Collar |
90387-1012H-00 |
from US $7.23 |
||
|
15
|
15
914-01200-20-00
Pin, Cotter
|
914-01200-20-00 |
— | ||
| replacement | |||||
|
15
|
15
914-90200-25-00 Pin. Cotter |
914-90200-25-00 |
from US $1.56 |
||
|
16
|
16
8CR-23743-10-00 Stopper 1 |
8CR-23743-10-00 |
from US $16.86 |
||
|
18
|
18
8FR-23760-00-00 Spring Assy 1 (K=2.3)K=2.3; AP |
8FR-23760-00-00 |
US $221.26 |
||
|
18
|
18
8FR-23760-10-00 Spring Assy 1 (K=3.0)K=3.0; AP |
8FR-23760-10-00 |
US $201.71 |
||
|
19
|
19
8ES-23501-10-00 Steering Knuckle Assy (Left) |
8ES-23501-10-00 |
from US $292.90 |
||
|
20
|
20
90381-25115-00 Bush, Solid |
90381-25115-00 |
from US $4.25 |
||
|
21
|
21
903-8115N-50-00 Bush, Solid |
903-8115N-50-00 |
from US $3.83 |
||
|
22
|
22
903-8118N-51-00 Bush, Solid |
903-8118N-51-00 |
from US $8.22 |
||
|
23
|
23
937-00060-04-00
Nipple, Grease
|
937-00060-04-00 |
— | ||
| replacement | |||||
|
23
|
23
93700-06M03-00 Nipple, Grease |
93700-06M03-00 |
from US $2.70 |
||
|
24
|
24
8ES-23803-00-00 Column, Ski Assy |
8ES-23803-00-00 |
from US $99.89 |
||
|
25
|
25
903-8416N-51-00 Bush, Bimetal Formed |
903-8416N-51-00 |
from US $4.39 |
||
|
26
|
26
8FA-23851-00-00 Arm, Outside 1 |
8FA-23851-00-00 |
from US $76.26 |
||
|
27
|
27
90110-08N53-00 Bolt, Hexagon Socket Head |
90110-08N53-00 |
from US $3.12 |
||
|
28
|
28
95607-08200-00 Nut, Self-Locking |
95607-08200-00 |
from US $2.13 |
||
| replacement | |||||
|
28
|
28
901-85081-69-00 Nut, Self-Locking |
901-85081-69-00 |
from US $2.13 |
||
|
29
|
29
3YK-22472-40-00 Cap, Case |
3YK-22472-40-00 |
from US $2.41 |
||
|
30
|
30
8FR-23540-20-00 Front Upper Arm Comp |
8FR-23540-20-00 |
US $426.40 |
||
| replacement | |||||
|
30
|
30
8GD-23540-20-00 Front Upper Arm Comp |
8GD-23540-20-00 |
US $682.43 |
||
|
31
|
31
903-8115N-50-00 Bush, Solid |
903-8115N-50-00 |
from US $3.83 |
||
|
32
|
32
90105-10N56-00 Bolt, Flange |
90105-10N56-00 |
from US $9.07 |
||
|
33
|
33
956-07102-00-00 Nut, U Flange |
956-07102-00-00 |
from US $5.67 |
||
|
34
|
34
90387-10N58-00 Collar |
90387-10N58-00 |
from US $10.77 |
||
| replacement | |||||
|
34
|
34
903-87100-99-00 Collar |
903-87100-99-00 |
from US $9.78 |
||
|
35
|
35
90105-10N54-00 Bolt, Flange |
90105-10N54-00 |
from US $27.91 |
||
|
36
|
36
956-07102-00-00 Nut, U Flange |
956-07102-00-00 |
from US $5.67 |
||
|
37
|
37
90201-106F2-00 Washer, Plate (17K) |
90201-106F2-00 |
from US $1.70 |
||
|
38
|
38
90209-15N50-00 Washer |
90209-15N50-00 |
from US $1.84 |
||
|
39
|
39
8ES-23570-20-00 Front Lower Arm Comp. (Left) |
8ES-23570-20-00 |
US $357.89 |
||
| replacement | |||||
|
39
|
39
8JA-23570-20-00 Front Lower Arm Comp. (Left) |
8JA-23570-20-00 |
US $460.28 |
||
|
40
|
40
90381-16N51-00 Bush, Solid |
90381-16N51-00 |
from US $3.97 |
||
|
41
|
41
90105-12N54-00 Bolt, Flange |
90105-12N54-00 |
from US $12.33 |
||
|
42
|
42
956-07122-00-00 Nut, Self-Locking |
956-07122-00-00 |
from US $7.69 |
||
|
43
|
43
90387-12N54-00 Collar |
90387-12N54-00 |
from US $10.06 |
||
|
44
|
44
90105-10N55-00 Bolt, Flange |
90105-10N55-00 |
from US $19.69 |
||
|
45
|
45
956-07102-00-00 Nut, U Flange |
956-07102-00-00 |
from US $5.67 |
||
|
46
|
46
90201-106F2-00 Washer, Plate (17K) |
90201-106F2-00 |
from US $1.70 |
||
|
47
|
47
90209-15N50-00 Washer |
90209-15N50-00 |
from US $1.84 |
||
|
48
|
48
8GD-2376A-50-00 Absorber Assy 1 |
8GD-2376A-50-00 |
US $2,451.02 |
||
|
49
|
49
901-05102-32-00
Bolt, Flange
|
901-05102-32-00 |
— | ||
| replacements | |||||
|
49
|
49
95817-10060-00 Bolt, Flange |
95817-10060-00 |
from US $2.83 |
||
|
49
|
49
90105-10169-00 Bolt, Flange |
90105-10169-00 |
from US $5.67 |
||
|
50
|
50
90105-10392-00 Bolt, Flange |
90105-10392-00 |
from US $4.68 |
||
|
51
|
51
956-07102-00-00 Nut, U Flange |
956-07102-00-00 |
from US $5.67 |
||
|
52
|
52
8ES-23502-10-00 Steering Knuckle Assy (Right) |
8ES-23502-10-00 |
from US $292.90 |
||
|
53
|
53
90381-25115-00 Bush, Solid |
90381-25115-00 |
from US $4.25 |
||
|
54
|
54
903-8115N-50-00 Bush, Solid |
903-8115N-50-00 |
from US $3.83 |
||
|
55
|
55
903-8118N-51-00 Bush, Solid |
903-8118N-51-00 |
from US $8.22 |
||
|
56
|
56
937-00060-04-00
Nipple, Grease
|
937-00060-04-00 |
— | ||
| replacement | |||||
|
56
|
56
93700-06M03-00 Nipple, Grease |
93700-06M03-00 |
from US $2.70 |
||
|
57
|
57
8FA-23852-00-00 Arm, Outside 2 |
8FA-23852-00-00 |
from US $76.26 |
||
|
58
|
58
8ES-23580-20-00 Front Lower Arm Comp. (Right) |
8ES-23580-20-00 |
US $344.03 |
||
| replacement | |||||
|
58
|
58
8JA-23580-20-00 Front Lower Arm Comp. (Right) |
8JA-23580-20-00 |
US $460.28 |
||
|
59
|
59
90381-16N51-00 Bush, Solid |
90381-16N51-00 |
from US $3.97 |
||
|
60
|
60
8FG-2386E-00-00 Bar, Stabilizer Front |
8FG-2386E-00-00 |
from US $108.18 |
||
|
61
|
61
8FG-2386G-00-00 Bush, Stabilizer Front |
8FG-2386G-00-00 |
from US $2.27 |
||
|
62
|
62
8FG-2386L-00-00 Arm, Stabilizer |
8FG-2386L-00-00 |
from US $55.82 |
||
|
63
|
63
8ES-2385L-00-00 Joint, Stabilizer 1 |
8ES-2385L-00-00 |
from US $60.10 |
||
|
64
|
64
90101-06765-00 Bolt(2Uj) |
90101-06765-00 |
from US $1.67 |
||
| replacement | |||||
|
64
|
64
90101-06278-00 Bolt |
90101-06278-00 |
from US $1.54 |
||
|
65
|
65
95604-06200-00 Nut, U Flange |
95604-06200-00 |
from US $1.56 |
||
|
66
|
66
95814-08030-00 Bolt, Flange |
95814-08030-00 |
from US $1.56 |
||
|
67
|
67
95604-08200-00 Nut, U Flange |
95604-08200-00 |
from US $1.84 |
||