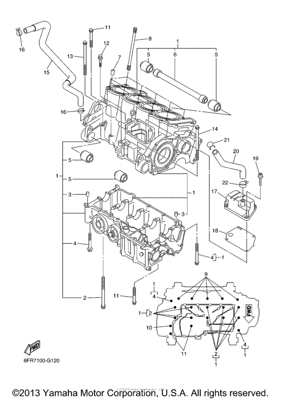
Crankcase Diagram Yamaha RX10/RXW10 Apex L-TX
- Model code
- 8FT5
- Engine Capacity
- 998
- Year
- 2008
- Sales region
- USA
- Power
- 150 hp
- Model
- Apex L-TX
Difficulties in parts search?
Difficulties in parts search?
| Description | OEM Part # | Price | |||
|---|---|---|---|---|---|
|
1
|
1
8FP-15100-02-00 Crankcase Assy |
8FP-15100-02-00 |
from US $2,455.20 |
||
| replacement | |||||
|
1
|
1
8FP-15100-08-00 Crankcase Assy |
8FP-15100-08-00 |
from US $2,455.20 |
||
|
2
|
2
90119-09004-00 Bolt, With Washer |
90119-09004-00 |
from US $5.38 |
||
|
3
|
3
995-30100-14-00
Pin, Dowel
|
995-30100-14-00 |
— | ||
| replacements | |||||
|
3
|
3
99530-10114-00 Pin, Dowel |
99530-10114-00 |
from US $1.70 |
||
|
3
|
3
995-10101-14-00
Pin, Dowel
|
995-10101-14-00 |
— | ||
|
4
|
4
90109-06100-00 Bolt |
90109-06100-00 |
from US $3.40 |
||
|
5
|
5
8FA-2139X-00-00 Damper |
8FA-2139X-00-00 |
from US $30.60 |
||
|
6
|
6
8FA-21459-00-00 Spacer |
8FA-21459-00-00 |
from US $17.57 |
||
|
7
|
7
99530-10114-00 Pin, Dowel |
99530-10114-00 |
from US $1.70 |
||
|
8
|
8
90116-10619-00 Bolt, Stud |
90116-10619-00 |
from US $8.09 |
||
|
9
|
9
95812-06055-00 Bolt, Flange |
95812-06055-00 |
from US $1.36 |
||
|
10
|
10
95812-06025-00 Bolt, Flange |
95812-06025-00 |
from US $1.07 |
||
| replacements | |||||
|
10
|
10
958-17060-25-00
Bolt, Flange
|
958-17060-25-00 |
— | ||
|
10
|
10
95822-06025-00 Bolt, Flange |
95822-06025-00 |
from US $0.99 |
||
|
11
|
11
95817-06045-00 Bolt, Flange |
95817-06045-00 |
from US $1.21 |
||
|
12
|
12
90105-06087-00 Bolt, Flange |
90105-06087-00 |
from US $2.13 |
||
| replacement | |||||
|
12
|
12
95814-06045-00 Bolt, Flange |
95814-06045-00 |
from US $2.13 |
||
|
13
|
13
95812-06080-00 Bolt, Flange |
95812-06080-00 |
from US $1.56 |
||
|
14
|
14
95812-06090-00 Bolt, Flange |
95812-06090-00 |
from US $1.56 |
||
|
15
|
15
8FP-11166-00-00 Pipe, Breather 1 |
8FP-11166-00-00 |
from US $43.80 |
||
|
16
|
16
90467-20050-00 Clip |
90467-20050-00 |
from US $1.28 |
||
|
17
|
17
8FP-15413-00-00 Cover |
8FP-15413-00-00 |
from US $91.74 |
||
|
18
|
18
8FP-15462-01-00 Gasket, Crankcase Cover 3 |
8FP-15462-01-00 |
from US $3.68 |
||
|
19
|
19
90110-06163-00 Bolt, Hexagon Socket Head |
90110-06163-00 |
from US $1.70 |
||
|
20
|
20
8FP-11167-00-00 Pipe, Breather 2 |
8FP-11167-00-00 |
from US $17.57 |
||
|
21
|
21
90467-220A1-00 Clip |
90467-220A1-00 |
from US $1.70 |
||
|
22
|
22
90467-220A0-00 Clip |
90467-220A0-00 |
from US $2.41 |
||