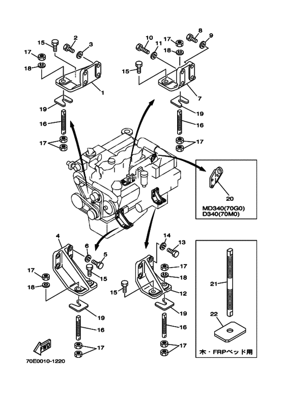
Mtg assyexh Diagram Yamaha D340
- Model code
- 70M0
- Year
- 1983
- Sales region
- Japan (010)
Difficulties in parts search?
Difficulties in parts search?
| Description | OEM Part # | Price | |||
|---|---|---|---|---|---|
|
2
|
2
97017-10030-00 Boltボルト; |
97017-10030-00 |
from US $4.11 |
||
|
3
|
3
92907-10200-00 Washer, Plainワツシヤ,プレーン; |
92907-10200-00 |
from US $0.90 |
||
|
4
|
4
70E-11012-01-00 Bracket, Engine 2 |
70E-11012-01-00 |
US $118.62 |
||
|
5
|
5
97017-10030-00 Boltボルト; |
97017-10030-00 |
from US $4.11 |
||
|
6
|
6
92907-10200-00 Washer, Plainワツシヤ,プレーン; |
92907-10200-00 |
from US $0.90 |
||
|
7
|
7
70E-11013-01-00 Bracket, Engine 3 |
70E-11013-01-00 |
US $295.66 |
||
|
8
|
8
97017-10030-00 Boltボルト; |
97017-10030-00 |
from US $4.11 |
||
|
9
|
9
92907-10200-00 Washer, Plainワツシヤ,プレーン; |
92907-10200-00 |
from US $0.90 |
||
|
10
|
10
97022-10040-00 Bolt, Hexagon |
97022-10040-00 |
US $5.24 |
||
|
11
|
11
92902-10100-00 Washer, Springワツシヤ,スプリング; |
92902-10100-00 |
US $1.56 |
||
| replacement | |||||
|
11
|
11
92990-10100-00 Ybs67-10 Washer, Springワツシヤ,スプリング; |
92990-10100-00 |
from US $1.34 |
||
|
12
|
12
70E-11014-01-00 Bracket, Engine 4 |
70E-11014-01-00 |
US $295.66 |
||
|
13
|
13
97017-10030-00 Boltボルト; |
97017-10030-00 |
from US $4.11 |
||
|
14
|
14
92907-10200-00 Washer, Plainワツシヤ,プレーン; |
92907-10200-00 |
from US $0.90 |
||
|
15
|
15
90101-14372-00 Bolt (L=60, P=1.5).ボルト,ヘキサゴン ; L=60, P=15 |
90101-14372-00 |
US $19.13 |
||
|
16
|
16
90116-16240-00 Bolt, Stud |
90116-16240-00 |
US $23.24 |
||
|
17
|
17
90170-16212-00 Nut |
90170-16212-00 |
US $10.34 |
||
|
18
|
18
92907-16100-00 Washer(Jn5)ワツシヤ; |
92907-16100-00 |
from US $3.40 |
||
|
19
|
19
705-76165-00-00 Shim5 (T=2.0).シム 5 ; T=20; UN |
705-76165-00-00 |
US $11.05 |
||
|
19
|
19
705-76161-00-00 Shim1 (T=0.1).シム 1 ; T=01; UN |
705-76161-00-00 |
US $9.92 |
||
|
19
|
19
705-76162-00-00 Shim2 (T=0.3).シム 2 ; T=03; UN |
705-76162-00-00 |
US $16.29 |
||
|
19
|
19
705-76163-00-00 Shim3 (T=0.5).シム 3 ; T=05; UN |
705-76163-00-00 |
US $17.14 |
||
|
19
|
19
705-76164-00-00 Shim4 (T=1.0).シム 4 ; T=10; UN |
705-76164-00-00 |
US $8.22 |
||
|
20
|
20
70G-11119-00-00 Hanger, Engineハンガ,エンジン; |
70G-11119-00-00 |
US $31.03 |
||