Mitsubishi DEBONAIR Car & Auto Parts
- Year
- 1994 - 1999
- Sales region
- Japan
- Note
- CONTEGA(SOHC),4FA/T
- transmission
- 4FA/T
- grade
- CONTEGA
Difficulties in parts search?
-
Air cleaner
GASOLINE
-
Auto transmission assy
-
Engine assy
-
Front bumper & support
-
Front garnish & moulding
-
Front seat
LH..POWER
-
Front seat
LH..POWER(ADJUSTER ETC.)
-
Front seat
RH..POWER
-
Front seat
LH..POWER(SEAT BACK,CUSHION)
-
Front seat
RH..MANUAL
-
Front seat
LH..MANUAL
-
Fuel tank
FUEL TANK
-
Headlamp
-
Heater unit & piping
HEATED DECK PANEL,HOSE ETC.
-
Heater unit & piping
HEATER UNIT,PIPING ETC.
-
I/panel & related parts
AIR OUTLET GARNISH,PANEL ETC.
-
I/panel & related parts
BRACKET,STAY ETC.
-
I/panel & related parts
AIR BAG,UPPER GLOVEBOX ETC.
-
I/panel & related parts
PAD,GLOVEBOX,ETC.
-
Radiator,hose & condenser tank
-
Rear susp
SUSPENSION ARM,CROSSMEMBER
-
Rear susp
STRUT,STABILIZER
-
Standard tool
-
Starter
-
Steering wheel
W/AIR BAG
-
Steering wheel
W/O AIR BAG
-
Wheel,tire & cover
WHEEL,TIRE ETC.
-
Wheel,tire & cover
SPARE TIRE ETC.
-
Fuel line & vapor gas control
FUEL TANK
-
Steering column & cover
ALL
-
Front exterior lamp
-
Parking brake control
EXC LPG
-
Rear bumper & support
-
Side garnish & moulding
-
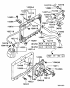
Front susp arm & member
-
Radiator grille,headlamp bezel
9509.1-
-
Radiator grille,headlamp bezel
-9508.3
-
Rear garnish & moulding
-
Steering gear
NPS INSTALLING PARTS
-
Steering gear
NPS DISASSEMBLED PARTS
-
Steering gear
EPS DISASSEMBLED PARTS
-
Steering gear
EPS ATTACHING PARTS
-
A/t overhaul kit
-
Console
-
Engine overhaul gasket kit
ALL
-
Liquid gasket
-
A/t case
ALL (CONNECTING PARTS)
-
A/t case
-9408.3 (SPEEDOMETER GEAR)
-
A/t case
9409.1- (SPEEDOMETER GEAR)
-
A/t case
ALL (EQUIPMENT PARTS OF T/M CASE)
-
A/t case
ALL (CASE ASSEMBLY,OIL PAN ETC.)
-
Alternator & vacuum pump
9609.3-
-
Alternator & vacuum pump
-9609.2
-
Front door panel & glass
PANEL,GLASS,WEATHERSTRIP ETC.
-
Front door panel & glass
MOULDING,GARNISH,PAD ETC.
-
Front susp strut & spring
STRUT
-
Front susp strut & spring
STABILIZER ETC.
-
Front wheel brake
-
Oil pump & oil filter
ALL
-
Ornament,mark & emblem
-
Owner's guide
'95MODEL-
-
Owner's guide
-'94MODEL
-
Power steering oil pump
OIL PUMP INSTALLING PARTS
-
Power steering oil pump
DISASSEMBLED PARTS..9509.2-
-
Power steering oil pump
DISASSEMBLED PARTS..-9509.1
-
Rear exterior lamp
-
Rear seat
SEPARATE TYPE(LH)
-
Rear seat
INTEGRAL CONSTRACTION
-
Rear seat
SEPARATE TYPE(RH)
-
Rocker cover
9610.1-
-
Rocker cover
-9609.3
-
Water pump
ALL
-
Water pump
ALL (BELT FRONT VIEW)
-
A/t tor-con & oil pump
-
Cylinder head
ALL (LEFT SIDE)
-
Cylinder head
ALL (RIGHT SIDE)
-
Hood & lock
-
Water pipe & thermostat
GASOLINE
-
A/t clutch
ALL (FRONT CLUTCH)
-
A/t clutch
ALL (END CLUTCH)
-
A/t clutch
9208.3- (REAR CLUTCH)
-
A/t clutch
-9208.2 (REAR CLUTCH)
-
Ashtray
-
Cylinder block
ALL
-
Front axle drive shaft
LH
-
Front axle drive shaft
RH
-
Front door window regulator
-
Power steering oil line
ALL
-
A/t brake
-
Cover,rear plate & oil pan
ALL (REAR PLATE,TRANSMISSION STAY)
-
Cover,rear plate & oil pan
ALL (TIMING BELT COVER,OIL PAN)
-
Front door locking
ALL
-
A/t gear & governor
-
Fender & front end cover
-
Front axle hub & drum
-
Mirror,grips & sunvisor
INSIDE REAR VIEW MIRROR MIRROR ETC.
-
Mirror,grips & sunvisor
ASSIST GRIP,SUNVISOR ETC.
-
Room lamp
ROOM LAMP,MAP LAMP ETC.
-
Room lamp
TRUNK ROOM LAMP,DOOR LAMP ETC.
-
A/t valve body
ALL (INNER PARTS)
-
A/t valve body
ALL (ASSEMBLY,CONNECTING PARTS)
-
A/t valve body
ALL (BOTTOM VIEW)
-
Front door trim & pull handle
-
Rear wheel brake
CALIPER DISASSEMBLED PARTS
-
Rear wheel brake
PARKING BRAKE
-
Front end panel
-
Inspection lamp
-
A/t electronic control
-
A/t floor shift linkage
SHIFT LEVER ETC.
-
A/t floor shift linkage
CABLE ETC.
-
Distributor
GASOLINE
-
Front deck & insulator
-
Heater control
HEATER CONTROL MOTOR ETC.
-
Heater control
HEATER CONTROL PANEL,SENSOR ETC.
-
Inlet manifold
GASOLINE
-
Outside rear view mirror
-
Piston & crankshaft
ALL
-
Piston & crankshaft
ALL (BEARING PREFERENCE LIST)
-
Rear door panel & glass
-
Headlining
-
Spark plug,cable & coil
ALL
-
Windshield wiper & washer
-
Camshaft & valve
9808.3-
-
Camshaft & valve
-9808.2
-
Interior trim
-
Power brake booster
-
Rear door window regulator
-
Windshield glass & moulding
-
Rear door locking
ALL
-
Baggage room trim
PACKAGE ROOM TRIM ETC.
-
Baggage room trim
SHELF TRIM ETC.
-
Rear axle hub & drum
-
Rear window wiper & washer
-
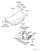
Roof & lid
-
Rear door trim & pull handle
-
A/t oil cooler & tube
-
Brake line
FRONT..EXC ABS
-
Brake line
FRONT..ABS(-9709.3)
-
Brake line
REAR
-
Brake line
FRONT..ABS(9710.1-)
-
Defroster nozzle & duct
-
Exhaust manifold
ALL (MANIFOLD)
-
Exhaust manifold
ALL (CATALYTIC CONVERTER)
-
Floor mat
-
Meter,gauge & clock
INDICATOR LENS,CLOCK,ETC.
-
Meter,gauge & clock
BULB INSTALLATION TABLE
-
Meter,gauge & clock
COMBINATION METER
-
Side structure
-
Fuel filler lid & lock
-
Oil press switch or gauge unit
-
Silencer
-
Ventilation & duct
VENTILATION DUCT,DISTRIBUTION DUCT
-
Ventilation & duct
FRONT..SIDE,REAR GARNISH
-
Floor
-
Electrical control
ALL (KNOCK SENSOR)
-
Electrical control
ALL (ENGINE HARNESS)
-
Electrical control
ALL (CONTROL UNIT ETC.)
-
Emergency flare & extinguisher
-
Rear end structure
-
Seat belt
REAR
-
Seat belt
FRONT
-
A/c unit(auto,full:a)
A/C UNIT
-
A/c unit(auto,full:a)
ELECTRIC AIR PURIFIER
-
A/c unit(dual:a)
A/C UNIT
-
A/c unit(dual:a)
ELECTRIC AIR PURIFIER
-
Switch & cigar lighter
SWITCH..P/W,COLUMN,DOOR LAMP ETC.
-
Switch & cigar lighter
SWITCH..I/PANEL,CONSOLE ETC.
-
Rear window glass & moulding
-
A/c cond, piping(auto,full:a)
A/C COMPRESSOR BRACKET ETC.
-
A/c cond, piping(auto,full:a)
A/C COMPRESSOR..9309.1-
-
A/c cond, piping(auto,full:a)
A/C CONDENSER,FAN ETC.
-
A/c cond, piping(auto,full:a)
A/C CONTROL ETC.
-
A/c cond, piping(auto,full:a)
A/C COMPRESSOR..-9308.3
-
A/c cond, piping(auto,full:a)
A/C PIPING ETC.
-
A/c cond, piping(dual:a)
A/C COMPRESSOR BRACKET ETC.
-
A/c cond, piping(dual:a)
A/C COMPRESSOR(9509.1-)
-
A/c cond, piping(dual:a)
A/C CONDENSER,FAN ETC.
-
A/c cond, piping(dual:a)
A/C COMPRESSOR(-9508.3)
-
A/c cond, piping(dual:a)
A/C CONTROL ETC.
-
A/c cond, piping(dual:a)
A/C PIPING ETC.
-
Engine mounting & support
EXC LPG
-
Exhaust pipe & muffler
ALL
-
Radio & audio accessories
AMPLIFIER,CD CHANGER ATTACHING PARTS
-
Radio & audio accessories
AUDIO KNOB ILLUSTRATION
-
Radio & audio accessories
AUDIO & ATTACHING PARTS
-
Trunk lid & lock
-
Rr a/c unit, duct(auto,full:a)
-
Rr a/c unit, duct(dual:a)
REAR A/C DISASSEMBLED PARTS..GASOLINE
-
Rr a/c unit, duct(dual:a)
REAR A/C UNIT,DUCT..LPG
-
Rr a/c unit, duct(dual:a)
REAR A/C UNIT,DUCT..GASOLINE
-
Rr a/c unit, duct(dual:a)
REAR A/C DISASSEMBLED PARTS..LPG
-
Speaker
-
Antenna & condenser
GLASS ANTENNA,NOISE CONDENSER ETC.
-
Injector & throttle body
ALL (ASSEMBLY)
-
Injector & throttle body
ALL (INNER PARTS)
-
Miscellaneous accessory parts
TV TUNER,NAVIGATION UNIT ETC.
-
Horn & buzzer
-
Brake & clutch pedal
-
Carburetor
ALL (ASSEMBLY)
-
Carburetor
ALL (INNER PARTS)
-
Loose panel
-
Relay,flasher & sensor
ENGINE ROOM INSTALLATION TABLE
-
Relay,flasher & sensor
RELAY BOX
-
Relay,flasher & sensor
RELAY..COWL SIDE,DOOR,FLOOR
-
Relay,flasher & sensor
AIR BAG SERVICE PARTS
-
Relay,flasher & sensor
RELAY..REAR SHELF,TRUNK ROOM
-
Battery cable & bracket
-
Brake master cylinder
-
Plugs,covers & shield
SPLASH SHIELD
-
Plugs,covers & shield
PLUG
-
Emission control
GASOLINE
-
Emission control
ALL (VACUUM HOSE LIST)
-
Lock cylinder & key
ALL
-
Oxygen enricher
-
Vaporizer
-9510.1 (INNER PARTS)
-
Vaporizer
ALL (ASSEMBLY)
-
Vaporizer
9510.2- (INNER PARTS)
-
Wiring & attaching parts
DETAIL OF SERVICE CONNECTORS(2/2)
-
Wiring & attaching parts
COWL SIDE PROTECTOR(ABS LESS)ETC.
-
Wiring & attaching parts
ATTACHING PARTS
-
Wiring & attaching parts
WIRING HARNESS..ENGINE ROOM
-
Wiring & attaching parts
HARNESS..BRACKET,GROMMET ETC.
-
Wiring & attaching parts
WIRING HARNESS..AROUND INSTRUMENT PANEL
-
Wiring & attaching parts
WIRING HARNESS..FLOOR,DOOR
-
Wiring & attaching parts
DETAIL OF SERVICE CONNECTORS(1/2)
-
Modulator
-9709.3
-
Modulator
9710.1-
-
Anti-skid brake sensor
-
Engine control
ACCEL CABLE,PEDAL ETC.
-
Engine control
AIR CLEANER BRACKET
-
Plate & label
HOOD BACKSIDE
-
Plate & label
EXC HOOD BACKSIDE
-
Speed control