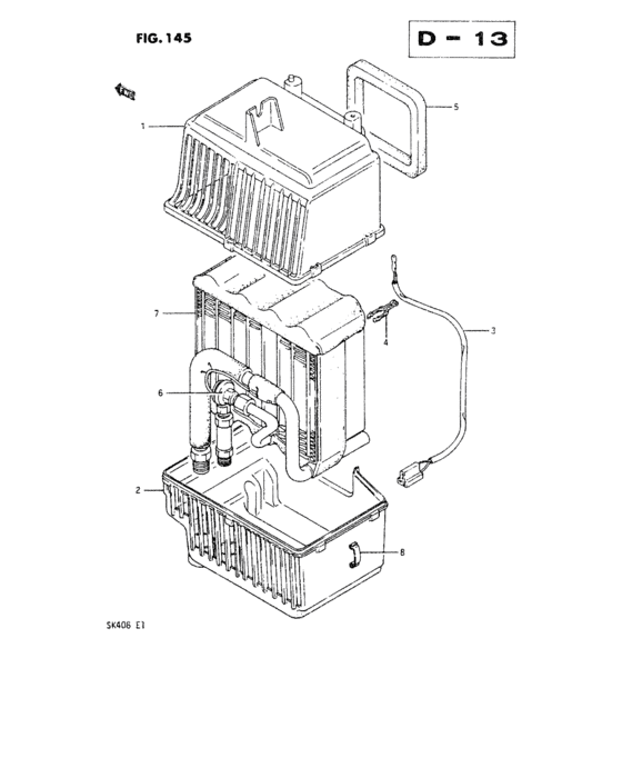
Evaporator (RHD) Diagram Suzuki CARRY/SUPER CARRY
- Year
- -
- Sales region
- Africa
- grade
- STD
Difficulties in parts search?
Parts list
Difficulties in parts search?
| Description | OEM Part # | Price | |||
|---|---|---|---|---|---|
|
|
95400-85000-000
ユニット,エバポレータ
|
95400-85000-000 |
— | ||
|
1
|
1
95421-85000-000
ケース,エバポレータ,アッパ
|
95421-85000-000 |
— | ||
|
2
|
2
95422-85000-000
ケース,エバポレータ,ロア
|
95422-85000-000 |
— | ||
|
3
|
3
95451-78041-000 THERMISTOR,EVAP |
95451-78041-000 |
US $39.74 |
||
|
4
|
4
95452-78041-000
クリップ,サーミスタ
|
95452-78041-000 |
— | ||
| replacement | |||||
|
4
|
4
95452-70B21-000
CLAMP,THERMISTER
|
95452-70B21-000 |
— | ||
|
5
|
5
95423-85000-000 PACKING,AIR INTAKE |
95423-85000-000 |
US $9.27 |
||
|
6
|
6
95351-78040-000 VALVE,EXPANSION |
95351-78040-000 |
US $134.69 |
||
|
7
|
7
95410-85000-000
コア,エバポレータ
|
95410-85000-000 |
— | ||
|
8
|
8
73616-83000-000 CLAMP,COWL VENTILATOR BOX |
73616-83000-000 |
US $3.42 |
||