Honda CIVIC Car & Auto Parts
- Year
- 2011
- Model code
- CIVIC HYBRID
- Sales region
- General
- Engine
- LDA2
- transmission
- CVT
- Number of doors
- 4
- grade
- MX ALCANT
- area code
- KE
- right-hand drive
- +
- navigation
- +
Difficulties in parts search?
-
Flywheel case
-
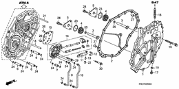
Transmission case
-
L. side cover
-
Starting clutch
-
Input shaft/forward clutc h
-
Intermediate plate
-
Oil pump
-
Oil pump
-
Valve body
-
Differential
-
Air cleaner
-
Resonator chamber
-
Exhaust pipe/silencer
-
Fuel tank
-
Fuel pipe
-
Canister
-
Radiator
DENSO
-
Radiator hose/reserve tan k
-
Battery
-
Wire harness
RH; 2
-
Wire harness
RH; 4
-
Wire harness
RH; 3
-
Wire harness
RH; 1
-
Harness band/bracket
RH
-
Headlight
-
Fog light
'09-
-
Taillight/license light
'09-
-
Interior light
-
Combination switch
RH
-
Switch
RH
-
Navigation system
RH
-
Meter components
NS
-
Control unit
CABIN; 2
-
Control unit
ENGINE ROOM; 2
-
Control unit
ENGINE ROOM; 1
-
Control unit
CABIN; RH; 1
-
Ima main cable/stay
-
Ima wire harness
-
Ima pdu
-
Ima main switch/junction board
'09-
-
Ima pdu cooling unit
-
Ima control unit
-
Ima battery
-
Ima unit case
-
Srs unit
RH
-
Front windshield wiper
RH
-
Windshield washer
1
-
Windshield washer/ headlight washer
3
-
Antenna/speaker
RH
-
Auto air conditioner control
RH
-
Heater blower
RH
-
Heater unit
RH
-
Water valve
RH
-
Tire/wheel disks
-
Rear brake
DISK
-
Front driveshaft/ half shaft
-
Front brake
-
Pedal
RH
-
Brake master cylinder
RH
-
Vsa modulator
-
Brake power unit
-
Brake lines
VSA; RH
-
Parking brake
RH
-
Knuckle
-
Front shock absorber
-
Rear lower arm
-
Rear shock absorber
-
Steering wheel
SRS
-
Steering column
-
P.s. gear box
EPS; RH
-
Select lever
RH
-
Floor mat
-
Grommet
REAR
-
Grommet
SIDE
-
Grommet
LOWER
-
Grommet
FRONT
-
Instrument panel
RH
-
Instrument panel garnish
DRIVER SIDE; RH
-
Instrument panel garnish
PASSENGER SIDE; RH
-
Duct
-
Console
RH
-
Roof lining
-
Pillar garnish
-
Front door lining
RH
-
Rear door lining
-
Rear tray/trunk lining
-
Front seat
RH; PASSENGER SIDE
-
Front seat
RH; DRIVER SIDE
-
Front seat components
RH; DRIVER SIDE
-
Front seat components
RH; PASSENGER SIDE
-
Rear seat
-
Seatbelts
-
Emblems/caution labels
-
Molding
-
Under cover
-
Mirror
AUTO TURN
-
Tools/jack
-
Front grille
'09-
-
Bumpers
'09-
-
Engine mounts
-
Front sub frame
-
Front bulkhead/dashboard
-
Floor/inner panels
-
Outer panels/rear panel
-
Front fenders
-
Engine hood
RH
-
Front windshield
-
Rear windshield/ quarter glass
-
Front door glass/ door regulator
-
Front door lock/ outer handle
-
Front door panels
-
Rear door glass/ door regulator
-
Rear door lock/ outer handle
-
Rear door panels
-
Trunk lid
-
Air conditioner
SENSOR
-
Air conditioner
CONDENSER
-
Air conditioner
COMPRESSOR
-
Air conditioner
HOSES/PIPES; RH
-
Throttle body
-
Purge control
-
Intake manifold
-
Fuel injector
-
Engine cover
-
Exhaust manifold
-
Plug top coil/plug
-
Tensioner
-
Engine wire harness
-
Engine wire harness stay
-
Starter motor
MITSUBA
-
Pcv tube
-
Cylinder head cover
-
Cylinder head
-
Camshaft/cam chain
-
Chain case
-
Valve/rocker arm
-
Cylinder block/oil pan
-
Water pump
-
Water hose
-
Crankshaft/piston
-
Flywheel
-
Gasket kit
-
Engine assy./ transmission assy.
-
Ima motor