Honda ACCORD Car & Auto Parts
- Year
- 2001
- Model code
- ACCORD COUPE
- Sales region
- General
- Engine
- J30A
- transmission
- 4AT
- Number of doors
- 2
- grade
- 3.0IV6
- area code
- KE
- right-hand drive
- +
- leather seat
- +
Difficulties in parts search?
-
Torque converter housing
V6
-
Transmission housing
V6
-
Clutch
V6
-
Mainshaft
V6
-
Countershaft
V6
-
Secondary shaft
V6
-
Oil level gauge
V6
-
Sensor/solenoid
V6
-
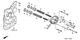
Main valve body
V6
-
Regulator
V6
-
Accumulator body
V6
-
Servo body
V6
-
Shift fork
V6
-
Differential
V6
-
L. side cover
V6
-
Air cleaner
V6
-
Resonator chamber
V6
-
Purge control solenoid valve
V6
-
Exhaust pipe
V6
-
Fuel tank
-
Fuel pipe
2
-
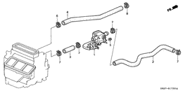
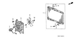
Radiator
V6
-
Radiator hose
V6
-
Battery
V6
-
Wire harness
RH
-
Harness band/bracket
-
Headlight
-
Taillight
-
Interior light
-
Combination switch
RH
-
Switch
RH
-
Combination meter
V6
-
Control unit
ENGINE ROOM; RH
-
Control unit
CABIN; RH
-
Srs unit
RH; 2
-
Front windshield wiper
RH
-
Windshield washer
3
-
Radio antenna/speaker
-
Auto radio
-
Heater control
AUTO; 2
-
Heater blower
RH
-
Heater unit
RH
-
Water valve
V6; RH
-
Tire/wheel disks
-
Rear brake
DISK; V6
-
Front driveshaft/half sha ft
V6; 2
-
Front brake
2
-
Pedal
RH
-
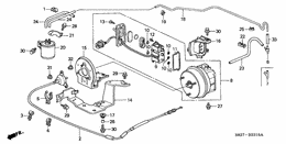
Auto cruise
V6
-
Brake master cylinder/ master power
-
Abs modulator
V6
-
Brake lines
V6; ABS; RH
-
Parking brake
-
Knuckle
-
Front stabilizer/ front lower arm
-
Front shock absorber
-
Rear stabilizer/ rear lower arm
-
Rear shock absorber
-
Steering wheel
SRS; V6
-
Steering column
-
Power steering gear box
RH
-
Power steering gear box components
RH
-
Power steering lines
V6; RH
-
Select lever
RH
-
Floor mat
-
Grommet
-
Instrument panel
RH
-
Instrument panel garnish
RH
-
Duct
RH
-
Console
-
Roof lining
-
Sliding roof
-
Roof slide components
-
Pillar garnish
RH
-
Front door lining
RH
-
Side lining
-
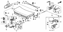
Rear tray/trunk garnish
-
Front seat
L.; 2
-
Front seat
R.; 2
-
Front seat components
L.; 1
-
Front seat components
R.; 2
-
Rear seat
-
Seatbelt
-
Emblems
-
Molding/protector
-
Mirror
-
Tools/jack
-
Bumpers
'01-
-
Engine mounts
V6
-
Cross beam
-
Front bulkhead
-
Inner panels
-
Outer panels
-
Front fenders
-
Hood
RH
-
Front windshield
-
Rear windshield/ quarter glass
-
Door windows
-
Door locks
-
Door panels
-
Trunk lid
-
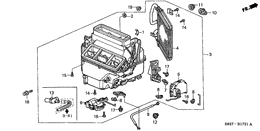
Air conditioner
COMPRESSOR; V6; 2
-
Air conditioner
CONDENSER
-
Air conditioner
COOLING UNIT; RH
-
Air conditioner
HOSES/PIPES; V6; RH
-
Air conditioner
SENSOR
-
Throttle body
V6
-
Tubing
V6; '01-
-
Intake manifold
V6
-
Fuel injector
V6; 4
-
Intake manifold cover
2
-
Exhaust manifold
V6
-
Ignition coil/plug
'01-
-
Alternator stay
V6
-
Alternator
DENSO; V6
-
Engine wire harness
V6; RH
-
Starter motor
MITSUBA; V6
-
Breather tube
V6
-
Cylinder head cover
V6
-
Front cylinder head
V6
-
Rear cylinder head
V6
-
Camshaft/timing belt
V6
-
Timing belt cover
V6
-
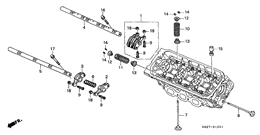
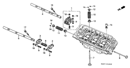
Valve/rocker arm
V6; FRONT
-
Valve/rocker arm
V6; REAR
-
Oil pump/oil strainer
V6
-
Cylinder block/oil pan
V6
-
Water pump/sensor
V6
-
Water hose
V6
-
Crankshaft/piston
V6
-
Torque converter
V6
-
Power steering pump/ bracket
V6
-
Gasket kit
V6
-
Engine assy./ transmission assy.
V6
-
Cd changer alpine
-
Cd changer attachment
-
Cd chg att
TRUNK
-
Net adapter for cooling box
-
Trunk spoiler
-
Primered - trunk spoiler
-
Gold emblem
-
Kit,gold emb v6
-
Kit,gold emb 3.0i
-
Exhaust pipe finisher - chrome finish
-
Exhaust pipe finisher - gold finish
-
Base carrier
-
2 pair of skis - attachment to base carr
-
Bicycle attachment
-
Bicycle lift
-
Lock set for base ca
-
Lock set for base ca
-
Lock set for base ca
-
Lock set for base ca
-
Lock set for base ca
-
Top box lugages - 350l
-
Multi fix
-
Detachable trailer hitch
-
Cargo net
-
Bumper corner pro
-
Side protector
-
Side protector
-
Side protector
-
Side protector
-
Side protector
-
Side protector (n
-
Side protec*b96p*
-
Fr mud guard
-
Front mud guards
-
Rr mud guard
-
Rear mud guards
-
Floor carpet elegance
-
Floor carpet elegance
-
Child seat
-
Child seat
-
Child seat
-
Childseat lord
-
Kit,sunroof visor
-
Rear seat back pocke
-
Honda coolbox
-
Fr fog lt
-
Kit,wheel disk al
-
Inst ctr panel